EasyManua.ls Logo

Becker Centronic TimeControl TC445-II - Page 40

Becker Centronic TimeControl TC445-II
Print Icon
To Next Page IconTo Next Page
To Next Page IconTo Next Page
To Previous Page IconTo Previous Page
To Previous Page IconTo Previous Page
Loading...


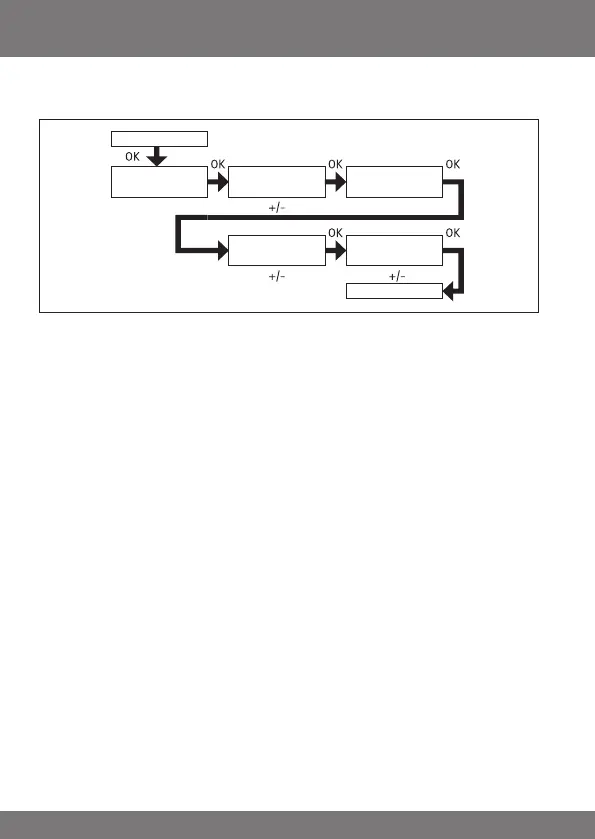
PROGRAMME
ASTROEVENING (UP -> switching time, DOWN -> sunset)
1. Press the MENUbutton.
2. To select the PROGAMME menu, press the +button until PROGAMME ap-
pears.
3. Press OKto conrm.
4. Press the +button again until ASTRO EVENING appears.
5. Press OKto conrm.
6. Now set the SWITCHING TIME s for Monday - Friday (1-5) using the +/-
buttons. Conrm every selection by pressing OK.
7. Now set the BLOCKING TIME t for Monday - Friday (1-5) using the +/-
buttons. Conrm every selection by pressing OK.
8. Now set the SWITCHING TIME sfor Saturday and Sunday (6,7) using the
+/-buttons. Conrm every selection by pressing OK.
9. Now set the BLOCKING TIME t for Saturday and Sunday (6,7) using the
+/-buttons.
Conrm every selection by pressing OK. PROGRAMME appears.
10. Press the MENUbutton to switch to operating mode.
SWITCHING
TIME
PROGRAMME
BLOCKING
TIME
PROGRAMME
BLOCKING
TIME
ASTRO
EVENING
SWITCHING
TIME

Table of Contents

Related product manuals