EasyManua.ls Logo

Beckhoff AX5112 - Installation Example - AX5101-AX5112 and AX5201-AX5206; Installation Example - AX5118, AX5125 and AX5140

Beckhoff AX5112
46 pages
Print Icon
To Next Page IconTo Next Page
To Next Page IconTo Next Page
To Previous Page IconTo Previous Page
To Previous Page IconTo Previous Page
Loading...
BECKHOFF Drive Technology 5 Installation
AX5000 Version : 4.5 31
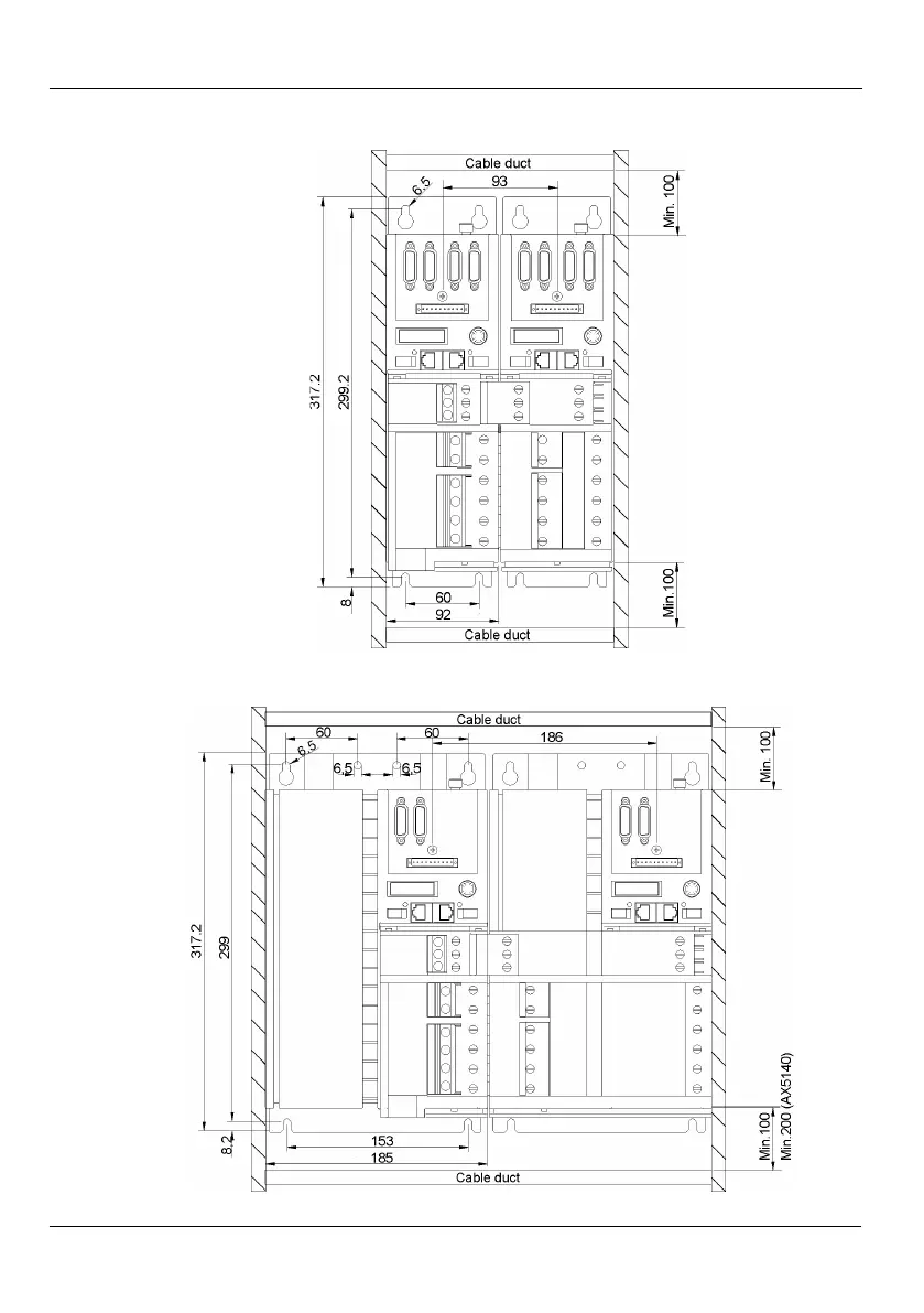
5.1.1.1 Installation example - AX5101-AX5112 and AX5201-AX5206
5.1.1.2 Installation example - AX5118, AX5125 and AX5140

Table of Contents

Other manuals for Beckhoff AX5112

Related product manuals