EasyManua.ls Logo

Beechcraft 20138 - Page 24

Beechcraft 20138
50 pages
Print Icon
To Next Page IconTo Next Page
To Next Page IconTo Next Page
To Previous Page IconTo Previous Page
To Previous Page IconTo Previous Page
Loading...
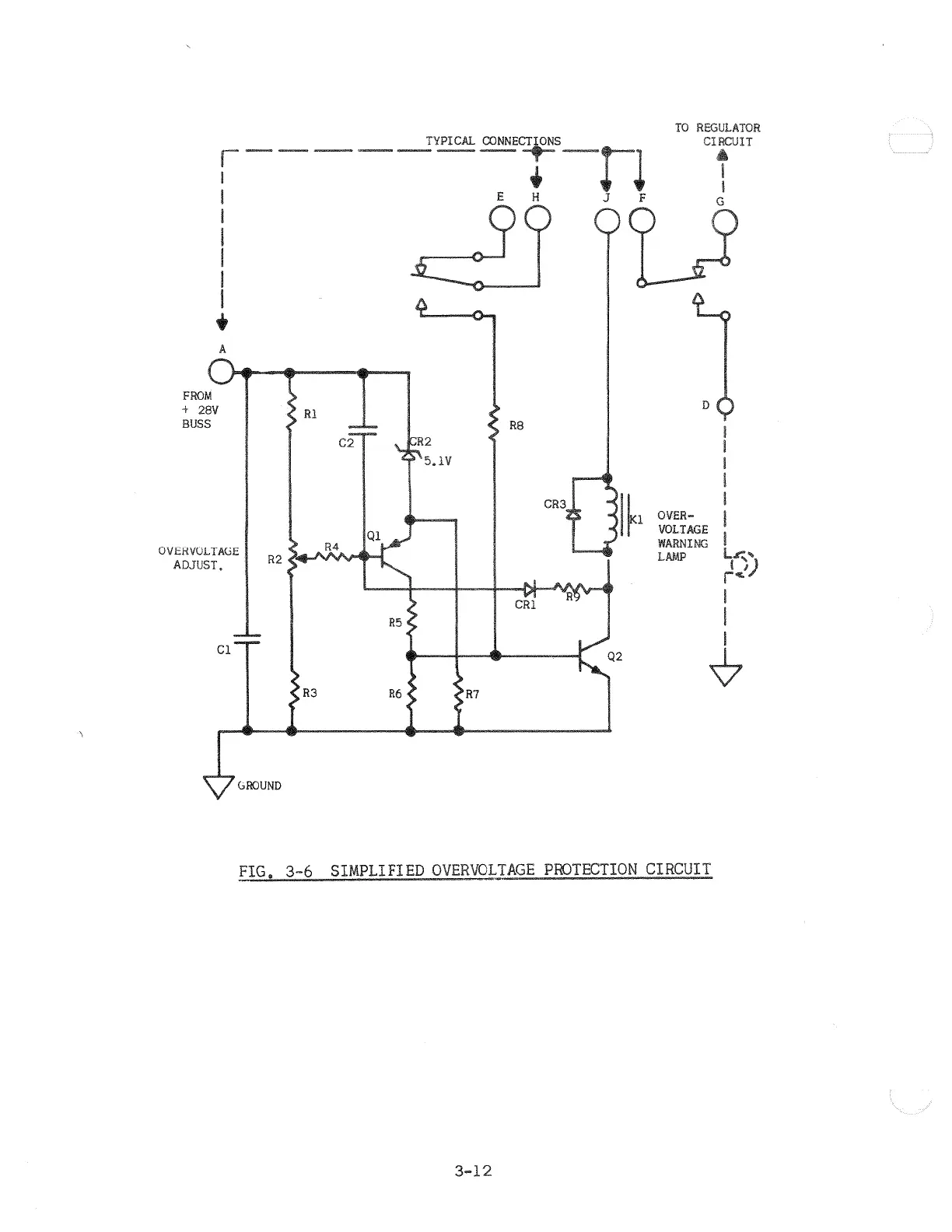
TO REGULATOR
....... ..-... ...--- -.......
TYPICAL
CONNECT
S CI UIT
H
F
A
CR
FROM
+
28V
Rl
D
BUSS
RS
C2
R2
'5.1V
CR3
OVER-
Ql
VOLIAGE
R4
WARNING
OVERVOLTAGE
!
R2
LAMP
L
ADJUST.
CR1
RS
Cl
Q2
R3
R6
R7
GROUND
FIG.
3-6
SIMPLIFIED
OVERVOLTAGE
PROTECTION CIRCUIT
3-12