EasyManua.ls Logo

Beechcraft 20138 - Page 46

Beechcraft 20138
50 pages
Print Icon
To Next Page IconTo Next Page
To Next Page IconTo Next Page
To Previous Page IconTo Previous Page
To Previous Page IconTo Previous Page
Loading...
WARNING
TO
BWSS
L
DASHCQ
LINES
INDICATE
'
¯
IGHT
TYPICAL
CONNECTIONS
GRD
r---------------------------
--,--,
r------ -------
----
2ol3sA
CR6
IN4004
RI4
2.4K
Q4
2N2905A
A
-+--'
2N305
RI
RI3
140
C2
CR2
3K
•$5¯
640
IN75IA
QI
C 3
·
RIO
RIS
2 OS
MPS-6517
7
A
953
2.4K
LTT R7
L
------
I
I
R20
2K
N3
53
330
R
11
CRI
IOO
05
TIS7
3.9K
2N2906A
CRS
MR1032A
i
C5
0.01
CL
CI
C3
20
R5
02
1.0
1.5K
2N3053
CR4 I
Ri6
R3
R6
RI2
1
IN753A
47K
4K
I
820-2W
IK
249
GRD
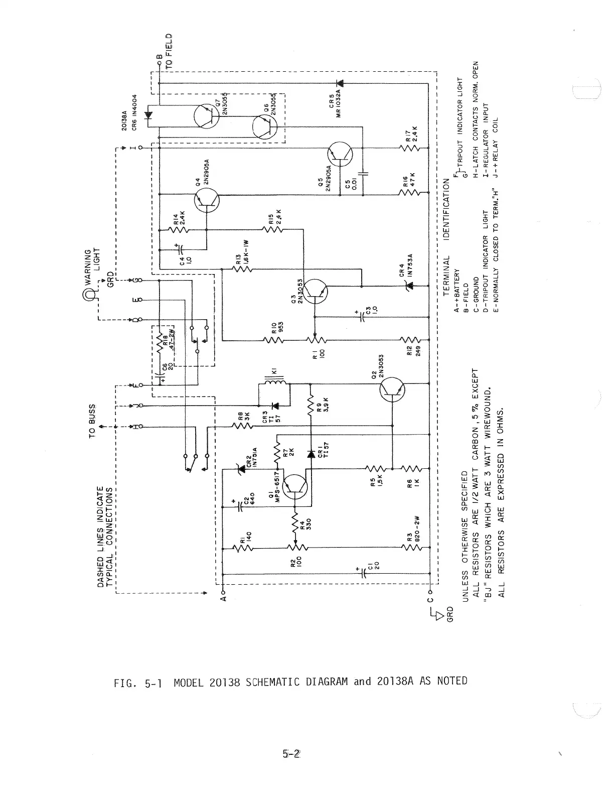
TERMINAL
IDENTIFICATION
rr
A-+BATTERY
F
TRIPOUT INDICATOR
LIGHT
UNLESS
OTHERWlSE
SPECIFIED
B-FIELD
G
ALL
RESISTORS
ARE I/2 WATT
CARBON
,
5%
EXCEPT
C-GROUND
H-LATCH
CONTACTS NORM. OPEN
"BJ"
RESISTORS
WHICH
ARE 3
WATT
WIREWOUND.
D-TRIPOUT
INDICATOR LIGHT
I-REGULATOR
INPUT
ALL
RESISTORS ARE EXPRESSED
IN OHMS.
E-NORMALLY
CLOSED
TO
TERM."H"
J-+RELAY
COIL