EasyManua.ls Logo

Belarus 3522.5 - Page 291

Belarus 3522.5
340 pages
Print Icon
To Next Page IconTo Next Page
To Next Page IconTo Next Page
To Previous Page IconTo Previous Page
To Previous Page IconTo Previous Page
Loading...
3522.5-0000010 OM
292
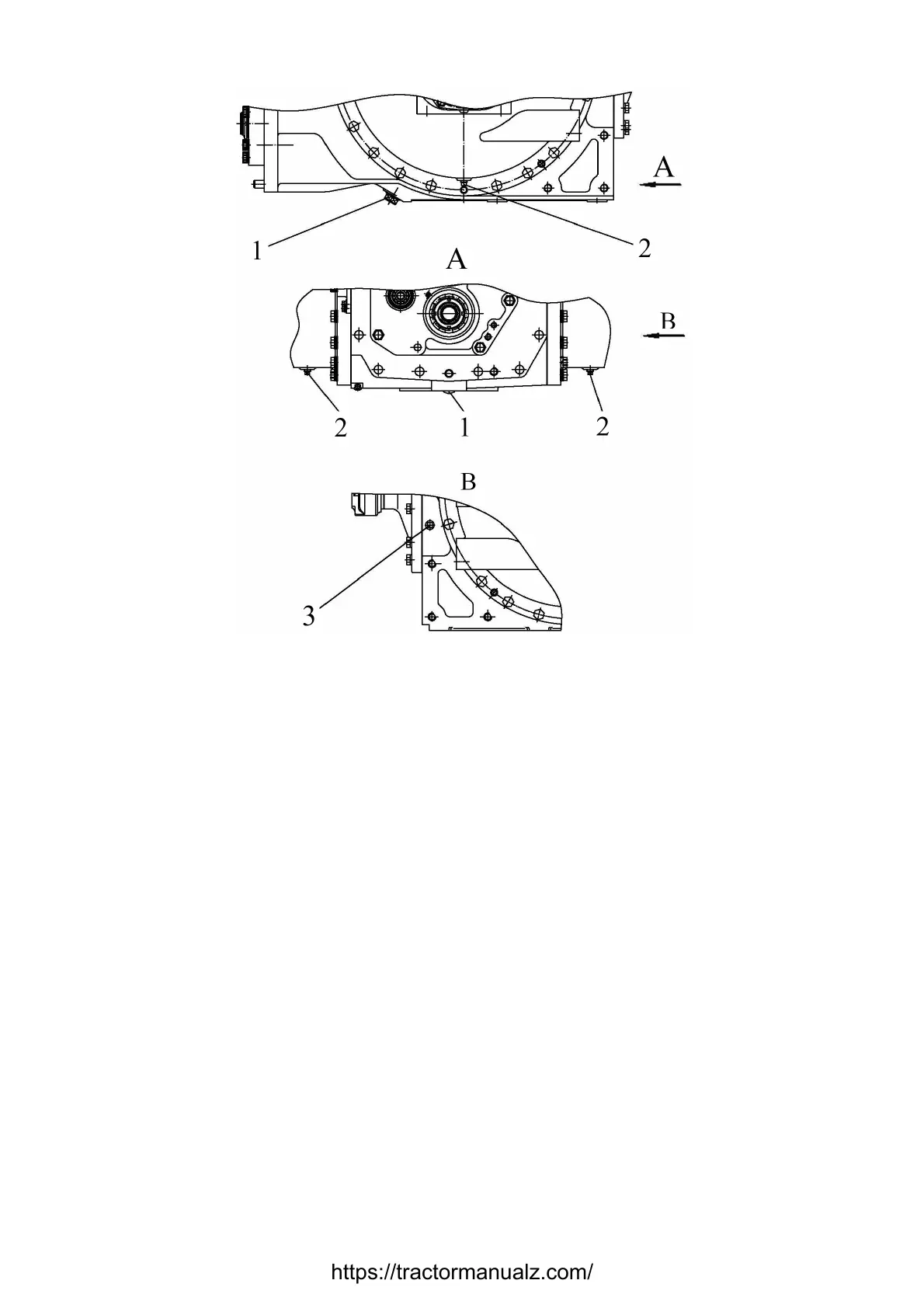
1 – rear axle drain plug; 2 – semi-axis tube drain plug; 3 – oil level check plug.
Figure 6.4.38 – Change of oil in transmission line
ATTENTION: BE CAREFUL IN ORDER TO AVOID CONTACT WITH HOT OIL!
6.4.5.3 Task 50. Change of oil in main gear housing and wheel-hub drive casing of
the FDA
Before changing oil, warm up the main gear housing up to the normal operating
temperature by means of driving the tractor.
To change oil in the housings, perform the following actions:
- place the tractor on level horizontal ground with plug 1 locating in the lowermost
position (position “а” in Figure 6.4.39);
- engage the parking brake and lock the wheels against movement fore and aft by
anti-recoil limit stops, excluding tractor self-movement. The engine must be stopped.
- unscrew level check/fill plug 5 (Figure 6.4.20) and drain plug 4 of the main gear
housing 3, drain the oil from the main gear housing;
- unscrew the plug 1 (Figure 6.4.39) of the wheel-hub drive casing 2, drain the oil
from the wheel-hub drive casing 2.
- by rotating a wheel set the FDA in such a way that the arrow casted in the wheel-
hub drive casing takes up a horizontal position (position «b» in Figure 6.4.39);
- fill in a new oil through the hole in the plug 1 up to the lower edge of the hole in the
plug 1;
- screw the drain plug 4 (Figure 6.4.20) in the main gear housing 3 and fill a new oil
through the hole in the level check/fill plug 5 up to the lower edge of the hole in the plug 5;
- screw the plug 1 in (Figure 6.4.39) and the plug 5 (Figure 6.4.20).
https://tractormanualz.com/

Table of Contents