EasyManua.ls Logo

Belling CH60R - Page 7

Belling CH60R
12 pages
Print Icon
To Next Page IconTo Next Page
To Next Page IconTo Next Page
To Previous Page IconTo Previous Page
To Previous Page IconTo Previous Page
Loading...
INSTALLATION
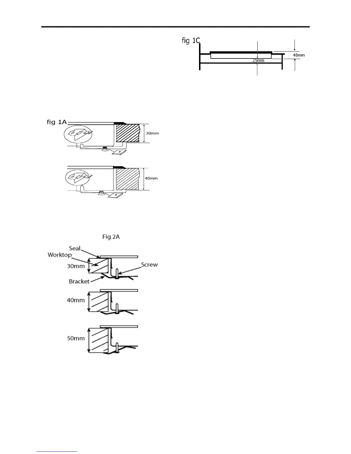
Secure the hob to the worktop by means
of the brackets provided, taking the thick-
ness of the worktop into account.
Depending on your appliance it will be
supplied and installed using one of the
following installation methods.
Method 1 ( g 1A) uses spire clips which
must be tted to the base of the hob prior
to tting the brackets.
Method 2 ( g 2A) the brackets screw
directly into the base of the hob in the
positions shown in g 2B.
If the underside of the hob is accessible
after installation a dividing partition must
be installed to the dimensions indicated in
Fig1C
If the appliance is installed with an oven
underneath then the dividing partition is
not required.
CONNECT TO THE ELECTRICITY
SUPPLY
WARNING: This appliance
must be earthed.
The hob must be installed by a competent
electrician, using a suitable double pole
control unit, with 3mm minimum contact
separation at all poles.
We recommend that the appliance is con-
nected by a competent person who is a
member of a “Competent Person Scheme”
who will comply with the required local
regulations.
The power rating is marked on the appli-
ance
Connection should be made with a suit-
able cable.
Important: Ensure that you route all
mains electrical cables well away from any
adjacent heat source, such as the base of
the hob an oven or grill.
Strip the wires & connect to the terminal
block as appropriate:-
L= Brown
N = Blue
Earth = Green/Yellow.
Fit the cable clamp & secure with the
screw provided.
Close the terminal box, ensuring that the
cover is closed and all screws in place.

Related product manuals