EasyManua.ls Logo

BenQ MX661 - Lamp Saver Mode

BenQ MX661
126 pages
Print Icon
To Next Page IconTo Next Page
To Next Page IconTo Next Page
To Previous Page IconTo Previous Page
To Previous Page IconTo Previous Page
Loading...
Operation 45
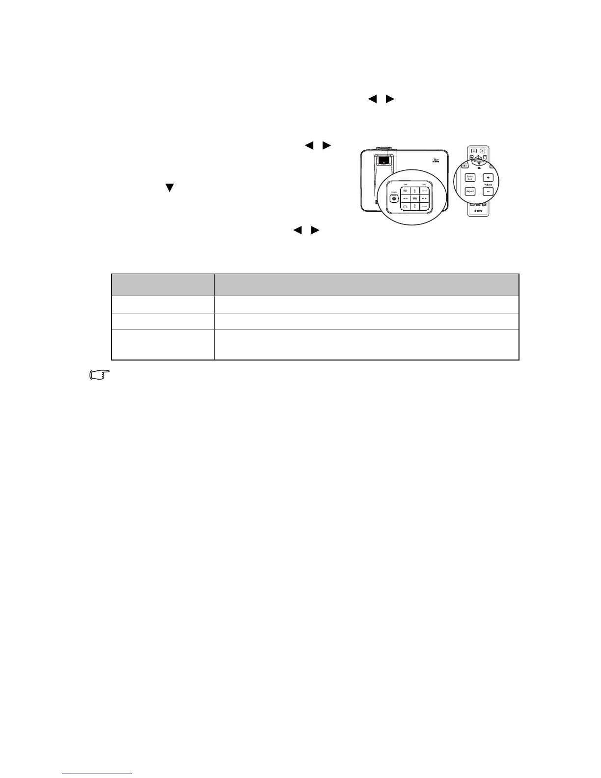
Select the lamp saver mode
Using the remote control.
Press SmartEco and Highlight Lamp Mode and press / to select Normal/
Economic/SmartEco.
•Using the OSD menu.
1. Press MENU/EXIT and then press /
until the SYSTEM SETUP: Advanced
menu is highlighted.
2. Press to highlight Lamp Mode and press
MODE/ENTER. The Lamp Settings page
displays.
3. Highlight Lamp Mode and press / to
select Normal/Economic/SmartEco. The lamp brightness vary from the different
lamp mode,see the description list in table below.
If the Economic mode or SmatEco mode is selected, the light output will be reduced and result
in darker projected pictures.
Lamp Mode Description
Normal 100% lamp brightness.
Economic Saves 20% lamp power consumption.
SmartEco
Saves up to 70% lamp power consumption depending on the content
brightness level.

Table of Contents

Other manuals for BenQ MX661

Related product manuals