EasyManua.ls Logo

BenQ MX823ST - Page 28

BenQ MX823ST
66 pages
Print Icon
To Next Page IconTo Next Page
To Next Page IconTo Next Page
To Previous Page IconTo Previous Page
To Previous Page IconTo Previous Page
Loading...
Operation28
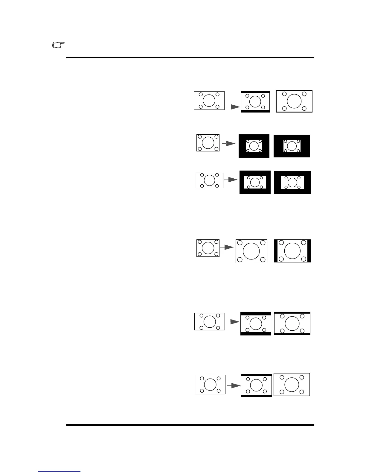
About the aspect ratio
In the pictures below, the black portions are inactive areas and the white portions are active areas.
OSD menus can be displayed on those unused black areas.
1. Auto: Scales an image proportionally
to fit the projector's native resolution
in its horizontal or vertical width. This
is suitable for the incoming image
which is neither in 4:3 nor 16:9 and
you want to make most use of the
screen without altering the image's
aspect ratio.
2. Real
: The image is projected as its
original resolution, and resized to fit
within the display area. For input
signals with lower resolutions, the
projected image will display smaller
than if resized to full screen. You
could adjust the zoom setting or
move the projector towards the
screen to increase the image size if
necessary. You may also need to
refocus the projector after making
these adjustments.
3. 4:3: Scales an image so that it is
displayed in the center of the screen
with a 4:3 aspect ratio. This is most
suitable for 4:3 images like some
computer monitors, standard
definition TV and 4:3 aspect DVD
movies, as it displays them without
aspect alteration.
4. 16:9: Scales an image so that it is
displayed in the center of the screen
with a 16:9 aspect ratio. This is most
suitable for images which are already
in a 16:9 aspect, like high definition
TV, as it displays them without aspect
alteration.
5. 16:10: Scales an image so that it is
displayed in the center of the screen
with a 16:10 aspect ratio. This is most
suitable for images which are already
in a 16:10 aspect, as it displays them
without aspect alteration.
15:9 picture
MX823ST
MW824ST
4:3 picture
16:9 picture
4:3 picture
16:9 picture
16:10 picture

Table of Contents

Other manuals for BenQ MX823ST

Related product manuals