EasyManua.ls Logo

Bercomac PRESTIGE 54 - Belt Adjustments

Bercomac PRESTIGE 54
36 pages
Print Icon
To Next Page IconTo Next Page
To Next Page IconTo Next Page
To Previous Page IconTo Previous Page
To Previous Page IconTo Previous Page
Loading...
17
*************************
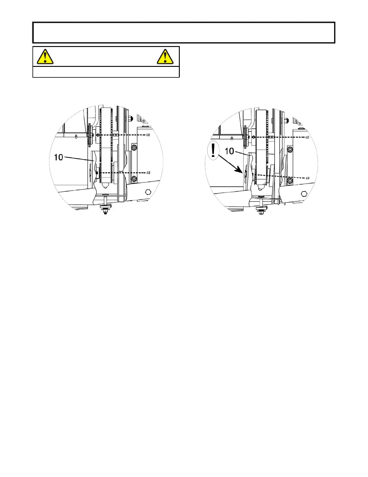
BELT ADJUSTMENTS
IMPORTANT:
The following figures (side views) show a good or improper adjustment of the pulleys in the reduction box (item
10).
Good adjustment: The pulleys are well aligned and
the timing belt stays completely engaged on the
sprocket.
Improper adjustment: The pulleys are not well
aligned and the timing belt does not stay completely
engaged on the sprocket, you have to realign the
pulleys by adjusting the angle of the reduction box.
CAUTION
Never use the snowblower without the belt guard.

Related product manuals