EasyManua.ls Logo

Beurer BG 39 - Ocena Wyników

Beurer BG 39
Print Icon
To Next Page IconTo Next Page
To Next Page IconTo Next Page
To Previous Page IconTo Previous Page
To Previous Page IconTo Previous Page
Loading...
52
o 8įD[ZİXBHĺ
o 1PQS[F[XJFMPLSPUOFOBDJTLBOJFQS[ZDJTLVvHØSBw
XZCSBİNJFKTDFXQBNJĺDJXLUØSZN[BQJTBOF
zostaną podstawowe dane osobiste. Pokazywane
są one potem naprzemian z ciężarem idealnym, aż
QPKBXJTJĺXTLB[BOJFvw
o 4UBOįİCPTPOBXBE[FJQS[F[DIXJMĺOJFSVDIPNPTUBİOBFMFLUSPEBDI
8ZDJDTUPQZ ZELJ JVEBPCVOØH OJF QPXJOOZTJĺEPUZLBİ8QS[FDJXOZN SB[JF QPNJBSNPŤFCZİ
nieprawidłowy.
Ważna informacja: Dane dotyczące idealnej masy ciała dotyczą osób od 18 roku życia.
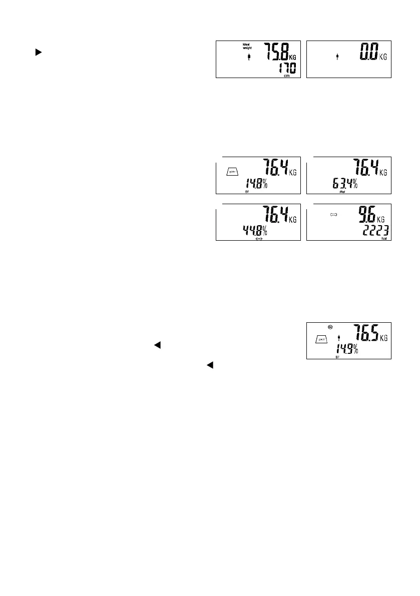
Następujące dane pokazywane są automatycznie naprzemian po sobie:
$JĺŤBSJ[BXBSUPŔİUVT[D[VXULBODF
$JĺŤBSJ[BXBSUPŔİXPEZ
$JĺŤBSJNJĺŔOJF
.BTBLPŔDJJBLUZXOPŔİSVDIPXBvLDBMw
/BLPŊDVQPKBXJTJĺKFT[D[FSB[DJĺŤBSJ[BXBSUPŔİUVT[D[VBŤEPXTLB[BOJBvi8BHBKFTUHPUPXBEP
dalszych pomiarów (pomiar powtórny). Jeśli nie zostanie dokonany żaden pomiar, waga po kilku sekundach
wyłączy się automatycznie.
1S[ZXZįD[FOJVXBSUPŔİQPNJBSPXB[PTUBOJFBVUPNBUZD[OJF[BQJTBOBEPQBNJĺDJ8UZNDFMVEPEZTQP[ZDKJ
są 2 miejsca pamięci dla każdego użytkownika.
5.4 Edycja wyników z pamięci
Po wybraniu miejsca pamięci i po podaniu informacji o zawartości tłuszczu, na
LSØULPQPKBXJTJĺXTLB[BOJFvi
1PQS[F[OBDJŔOJĺDJFQS[ZDJTLVvHØSBi QPKBXJTJĺPTUBUOJP[BQJTBOBXBSUPŔİ/B-
TUĺQOJFQPKBXJTJĺDJĺŤBS[BXBSUPŔİUVT[D[VXULBODF[BXBSUPŔİXPEZJNBTB
NJĺŔOJPXB1POPXOFOBDJŔOJĺDJFQS[ZDJTLVvHØSBi pojawi się przedostatnio
[BQJTBOBXBSUPŔİ
6. Ocena wyników
Udział tkanki tłuszczowej
1POJŤT[FXBSUPŔDJULBOLJUVT[D[PXFKTįKFEZOJFPSJFOUBDZKOFBCZV[ZTLBİXJĺDFKJOGPSNBDKJOBMFŤZ[XSØDJİ
się do lekarza!).
W celu łatwego uporządkowania wartości tłuszczu w tkance waga diagnostyczna wyposażona została w pi-
ramidę interpretacyjną. Pokazuje ona na jeden rzut oka, na które kategorie przypada tłuszcz.
/ 0
1 2

Related product manuals