EasyManua.ls Logo

Big Joe CB22 - OPERATION; Forward and Reverse Travel and Speed Control

Big Joe CB22
28 pages
Print Icon
To Next Page IconTo Next Page
To Next Page IconTo Next Page
To Previous Page IconTo Previous Page
To Previous Page IconTo Previous Page
Loading...
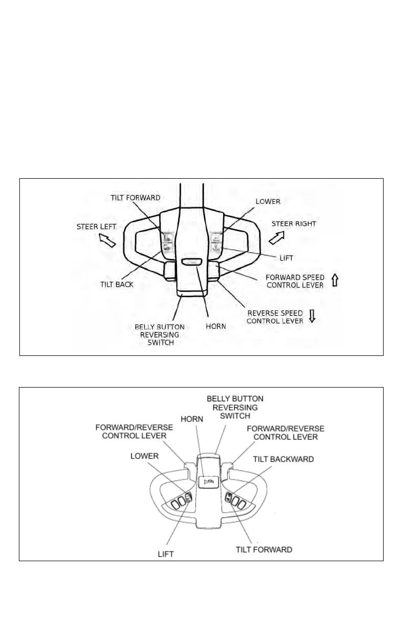
11
OPERATION
Forward and Reverse Travel and
Speed Control
All directional and speed controls are
located on the control handle.
Forward and reverse are controlled by
rotating the speed control lever as
shown. The lever is spring loaded to
return to neutral when released. Further
rotation in either direction will progress
the truck from slow to maximum travel
speed.
To change directions or to stop the truck,
rotate the speed control lever in the
opposite direction. The truck will come
to a stop and then, unless the controls
are returned to the center neutral posi-
tion, accelerate in the opposite direc-
tion.
CB22 Control Handle
CB33 Control Handle
R7305
R7306

Related product manuals