EasyManua.ls Logo

Binks MX22036 - Maintenance Symbols

Binks MX22036
36 pages
Print Icon
To Next Page IconTo Next Page
To Next Page IconTo Next Page
To Previous Page IconTo Previous Page
To Previous Page IconTo Previous Page
Loading...
EN
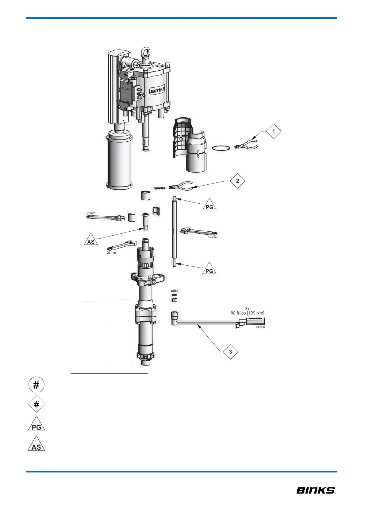
MAINTENANCE SYMBOLS
ITEM NUMBER
MAINTENANCE ORDER (Reverse for assembly)
PETROLEUM JELLY/GREASE
ANTI-SIEZE GREASE
MX22036 & MX19042 BARE PUMP - MAINTENANCE
77-3210-R1.4 8/36

Related product manuals