EasyManua.ls Logo

BIO UV UV10 - Page 6

BIO UV UV10
84 pages
Print Icon
To Next Page IconTo Next Page
To Next Page IconTo Next Page
To Previous Page IconTo Previous Page
To Previous Page IconTo Previous Page
Loading...
BIO-UV
Copyright BIO-UV 03/07/08
6
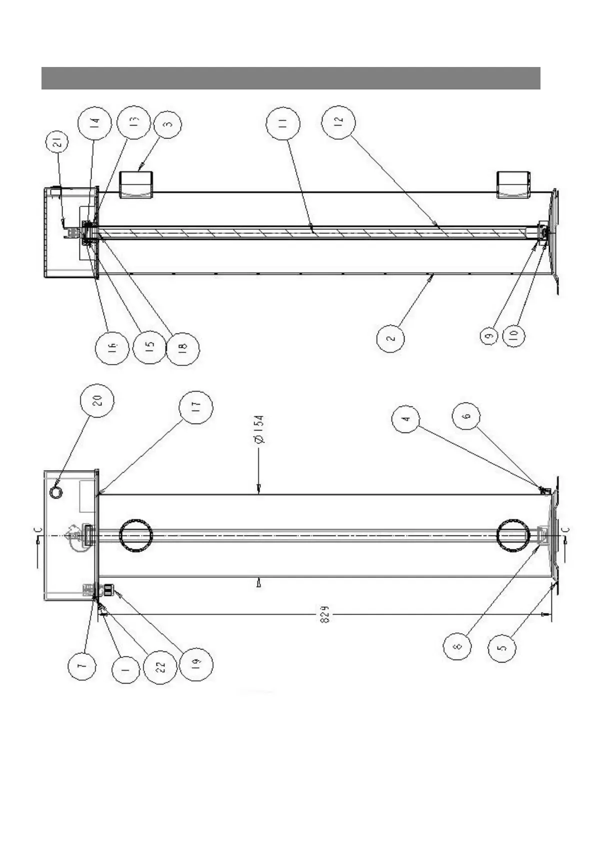
Details of the parts of UV range Sterilizers

Related product manuals