EasyManua.ls Logo

BKI FH-28 - Assembly and Mounting; Fire Damper; Air Deflector

BKI FH-28
32 pages
Print Icon
To Next Page IconTo Next Page
To Next Page IconTo Next Page
To Previous Page IconTo Previous Page
To Previous Page IconTo Previous Page
Loading...
Ventless Hood System Installation
10
Assembly and Mounting
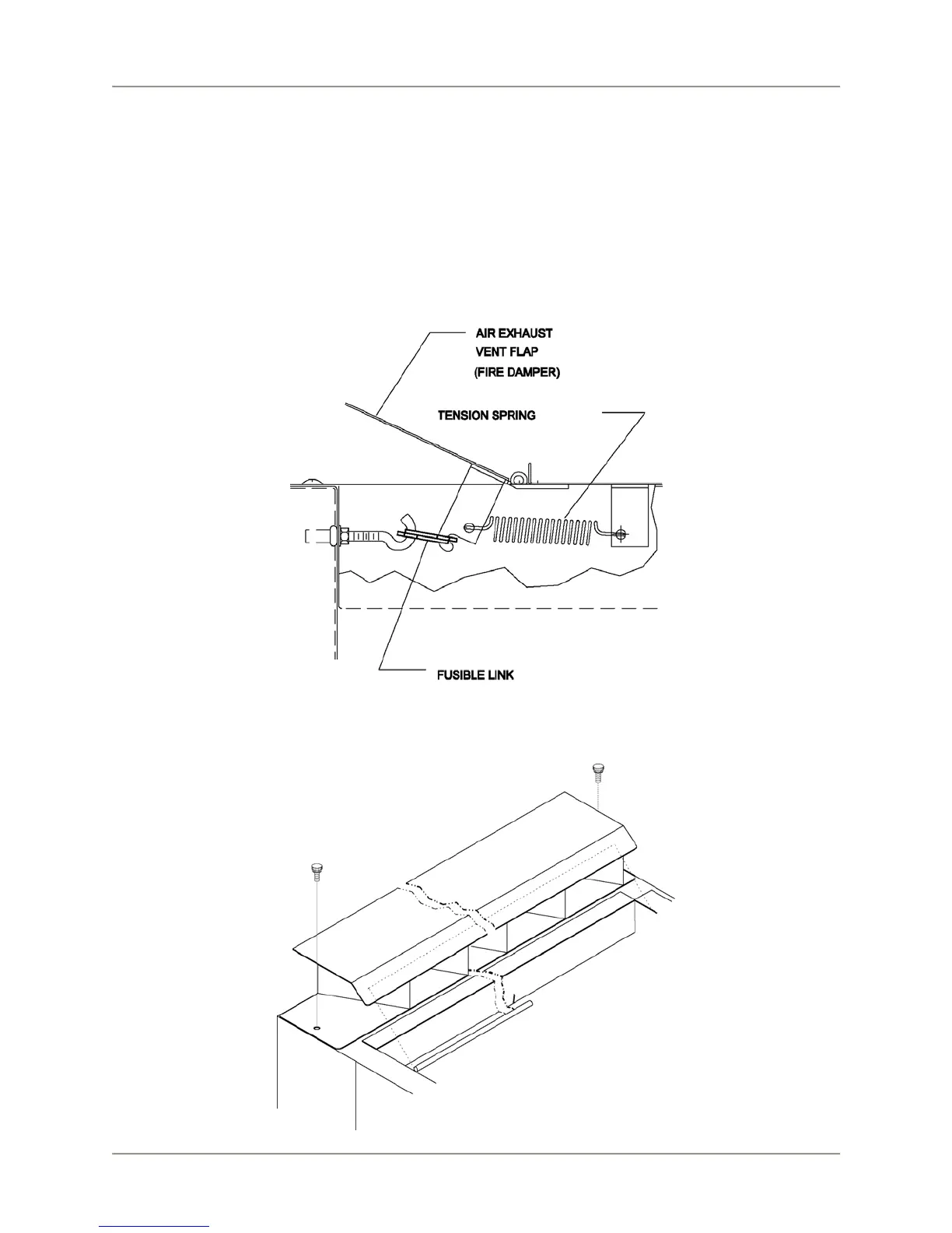
Fire Damper
A UL Listed 165 F fusible link must be installed in the damper assembly located at the top of the unit.
Install as follows:
1. Lift the damper.
2. Place the link on the damper hook.
3. Lower the damper while placing the link onto the stationary hook.
Air Deflector
Mount air deflector, as shown in the figure below, using two knurled screws (provided).

Related product manuals