EasyManua.ls Logo

Black+Decker BPT10HWTB - Page 55

Black+Decker BPT10HWTB
100 pages
Print Icon
To Next Page IconTo Next Page
To Next Page IconTo Next Page
To Previous Page IconTo Previous Page
To Previous Page IconTo Previous Page
Loading...
Page 55
DÉSHUMIDIFIER
Idéal pour réduire l’humidité.
Gardez la fenêtre et la porte fermées pour obtenir le meilleur effet de
déshumidification.
La fixation du tuyau d’échappement n’est pas nécessaire pour réduire
l’humidité, mais elle est recommandée dans les pièces très humides afin que
l’air chaud puisse être évacué à l’extérieur.
Vidange en mode Déshumidification
Il est recommandé d’utiliser le drain de déshumidification et le tuyau de
vidange pour un drainage continu.
EAU PLEINE - Quand le niveau d’eau atteint un niveau prédéterminé,
sera
indiqué sur l’écran. L’unité devra être vidangée.
REMARQUE: · Reportez-vous à la section Vidange de l’Eau à la.
Dans ce mode, la vitesse du ventilateur est sélectionnée automatiquement par
l’appareil et ne peut pas être réglé manuellement.
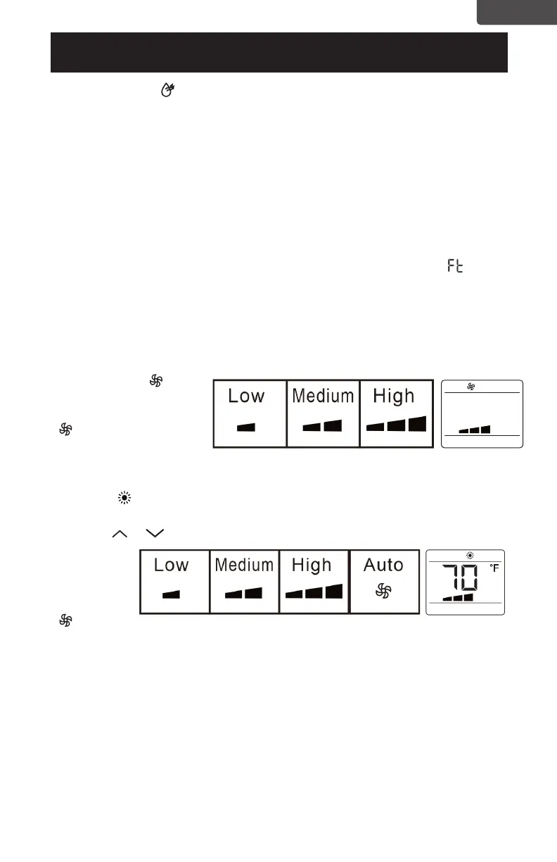
VENTILATEUR
Appuyez sur le Bouton
de Vitesse du Ventilateur
pour sélectionner une
vitesse Basse, Moyenne
ou Haute.
CHALEUR (HEAT modèle BPT10HWTB uniquement)
Sélectionnez la température cible 55˚F- 81˚F (13˚C-27˚C) en appuyant sur les
boutons
or jusqu’à ce que la température désirée s’afche sur l’écran
LED.
Appuyez sur
le bouton de
vitesse du
ventilateur
pour
sélectionner la vitesse faible, moyenne, élevée ou automatique.
REMARQUE: Au début de ce mode, vous devrez peut-être attendre quelques
secondes avant que l’appareil ne commence à émettre de l’air
chaud.
En mode HEAT, de l’eau sera retirée de l’air et collectée dans le réservoir,
lorsque le réservoir est plein, l’appareil s’arrête et “ft” (FULL TANK) apparaît
à l’écran, le réservoir doit être vidé (Voir eau page de drainage). L’appareil
redémarrera.
Lorsqu’il fonctionne dans des pièces très froides, l’appareil se dégivre
automatiquement et peut perturber son fonctionnement normal. Le ventilateur
continuera de fonctionner pendant quelques secondes pour abaisser l’intérieur.
Température même après l’arrêt de l’appareil. Dans ce mode, le
ventilateur peut fonctionner pendant de courtes périodes même si la
température réglée a été atteinte.
CONFIGURATION ET UTILISATION
FRANÇAIS

Table of Contents

Related product manuals