EasyManua.ls Logo

Black+Decker BPT10HWTB - Page 88

Black+Decker BPT10HWTB
100 pages
Print Icon
To Next Page IconTo Next Page
To Next Page IconTo Next Page
To Previous Page IconTo Previous Page
To Previous Page IconTo Previous Page
Loading...
Page 88
DESHUMIDIFICAR
Ideal para reducir la humedad.
Mantenga las ventanas y puertas cerradas para un mejor efecto
deshumidificador.
No se requiere la conexión de la manguera de escape para reducir la humedad,
sin embargo, se recomienda en habitaciones muy húmedas para que el aire
caliente pueda salir al exterior.
Drenaje en el modo Deshumidificar
Se recomienda que el drenaje de deshumidificación y la manguera de drenaje
se utilicen para un drenaje continuo.
AGUA LLENA - Cuando el nivel del agua alcance un nivel predeterminado,
se indicará en la pantalla. La unidad deberá ser drenada.
NOTA: · Consulte la sección “Drenaje de Agua”.
En este modo, el aparato selecciona automáticamente la velocidad del
ventilador y no puede congurarse manualmente.
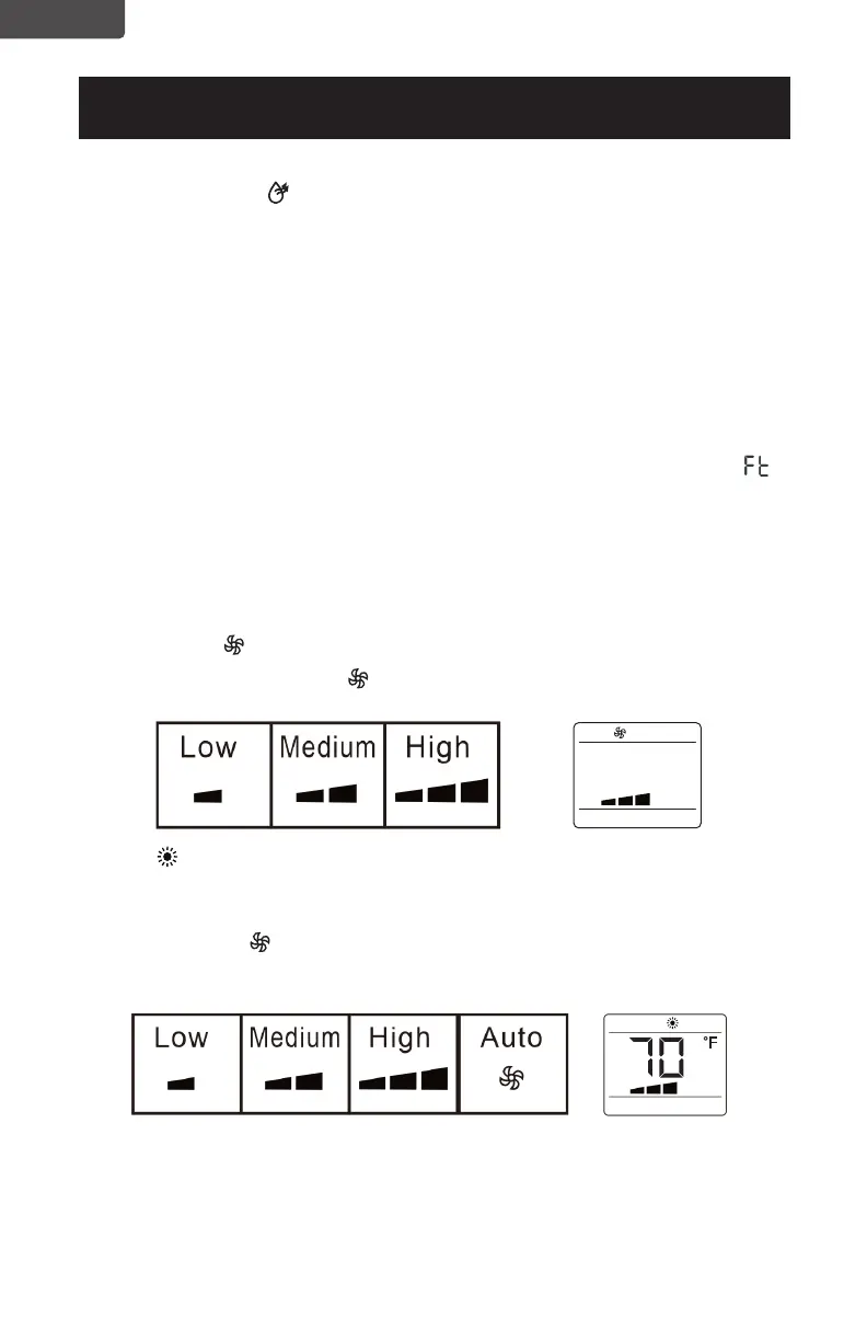
VENTILADOR
Presione el botón Fan Speed para escoger entre velocidad baja, media, o
alta.
CALOR (Solo modelo HEAT BPT10HWTB)
Seleccione la temperatura objetivo de 13°C a 27°C (55°F a 81°F) presionando
los botones o hasta que se muestre la temperatura deseada en la pantalla LED.
Presione el botón
de velocidad del ventilador para seleccionar la velocidad
baja, media, alta o automática.
NOTA: Al comienzo de este modo, es posible que deba esperar unos segundos
antes de que el aparato comience a emitir aire caliente.
En modo CALOR se sacará agua del aire y se recogerá en el tanque, cuando
el tanque está lleno, el aparato se apaga y aparece “ft” (FULL TANK) en la
pantalla, el tanque debe vaciarse (Ver drenaje de agua página). El aparato se
pondrá en marcha de nuevo.
CONFIGURACIÓN Y USO
ESPAÑOL

Table of Contents

Related product manuals