EasyManua.ls Logo

Blue Diamond Post Driver - Page 29

Default Icon
34 pages
Print Icon
To Next Page IconTo Next Page
To Next Page IconTo Next Page
To Previous Page IconTo Previous Page
To Previous Page IconTo Previous Page
Loading...
29
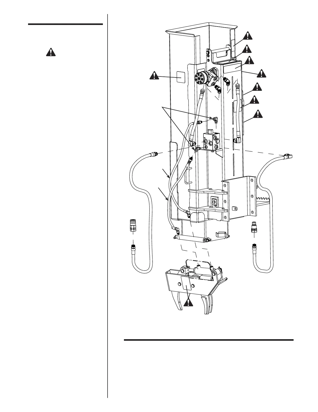
Parts
Grapple Hydraulics
= Safety Sign
Location
REF. NO. PART NO. DESCRIPTION QTY.
1 21140 #6 O-ring 1/4" Pipe Elbow 2
2 21144 Manifold-Grapple Hydraulic Hose 1
3 21143 Manifold-Grapple Hydraulic Hose 1
1
3
2