EasyManua.ls Logo

Blue Giant M - Illustration and Parts List

Blue Giant M
116 pages
Print Icon
To Next Page IconTo Next Page
To Next Page IconTo Next Page
To Previous Page IconTo Previous Page
To Previous Page IconTo Previous Page
Loading...
Mechanical Dock Leveler – M and FMC Group 12, Section 02, Page 1
Issue Date: 10/01/01, Rev, 0 (Part #038-550E)
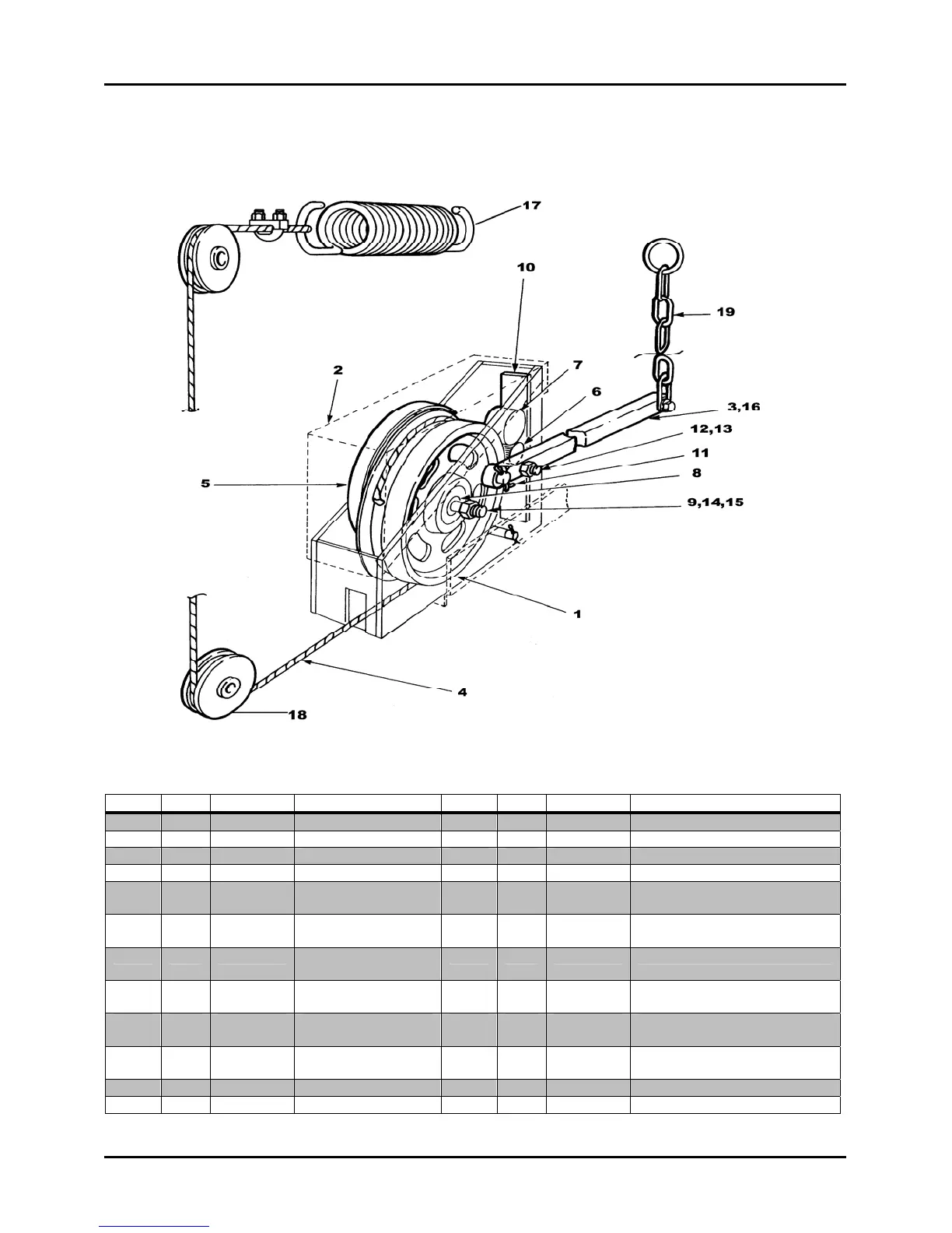
HOLD DOWN SYSTEM
ILLUSTRATION & PARTS LIST
ITEM QTY PART NO DESCRIPTION ITEM QTY PART NO DESCRIPTION
-- -- 788-037 Complete Assy 9 1 010-123 Hex Head Bolt
1 1 788-111 Rewind Wheel 10 1 113-089 Wear Strip
2 1 788-034 Cover Assembly 11 1 013-005 Spring Pin
3 1 788-055 Handle Assembly 12 1 113-090 Stud
4 1 788-118 Cable Assembly
- 6’ long Dock
13 1 011-508 Hex Nut
4 1 788-118 Cable Assembly
- 8’ long Dock
14 1 011-554 Nylock Nut
4 1 788-120 Cable Assembly
- 10’ long Dock
15 1 113-198 Sleeve
4 1 788-120 Cable Assembly
- 12’ long Dock
16 1 018-001 Bushing
5 1 113-143 Coil Spring 17 1 203-5011 Float Spring Assy – ‘C’ Series
25,000# Capacity Only
6 1 103-167 Lock Roller 17 1 203-5039 Float Spring Assy – All Others
Not Listed Above
7 1 113-085 Counter Weight 18 2 793-092 Cable Roller Assy
8 2 018-500 Bearing 19 1 788-197 Pull Chain Assy

Table of Contents

Related product manuals