EasyManua.ls Logo

Blue Giant M - Replacement Parts Illustration

Blue Giant M
116 pages
Print Icon
To Next Page IconTo Next Page
To Next Page IconTo Next Page
To Previous Page IconTo Previous Page
To Previous Page IconTo Previous Page
Loading...
Mechanical Dock Leveler – M and FMC Group 12, Section 03, Page 1
Issue Date: 10/01/01, Rev. 0 (Part #038-550E)
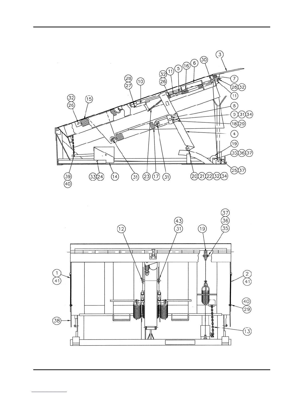
REPLACEMENT PARTS ILLUSTRATION

Table of Contents

Related product manuals