EasyManua.ls Logo

BMS DLC50 - Presets Setup; Simple UI Setup; Figure 18. Diplexer Subband Switching Configuration Example; Figure 19. Multiple Subband Filter Array Configuration Example

BMS DLC50
44 pages
Print Icon
To Next Page IconTo Next Page
To Next Page IconTo Next Page
To Previous Page IconTo Previous Page
To Previous Page IconTo Previous Page
Loading...
DLC50 Control Panel Installation and Operation Manual | Doc. No. 6051439500 Rev. A
Broadcast Microwave Services 20
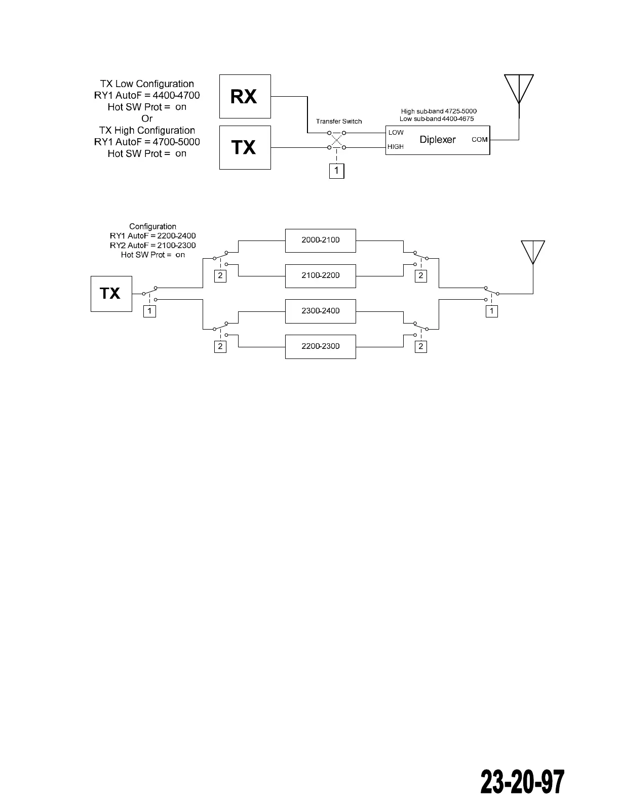
Figure 18. Diplexer subband switching configuration example
Figure 19. Multiple subband filter array configuration example
Using an external booster relay, a similar filter array for receive filters (that provide rejection of the
transmitted signal) could be controlled with the same two relay drivers. That still would leave 2
available relay drivers for additional functions such as antenna switch, or other ancillary function. A
booster relay is required if relay switching current exceeds 500 mA. Contact BMS Customer Service for
more information.
4.7 Presets Setup
Configuration>Presets Setup
The DLC50 can store up to 20 highly configurable presets. These are not to be confused with
transmitter or receiver presets which are separately controllable from the TX or RX menus. The DLC50
presets allow the user to create presets that contain any or all of the following settings: Name, TX
channel, TX frequency, TX preset, TX RF power, TX encryption state, RX channel, RX frequency, RX
preset, RX decryption state, and relay state (of manual relays only). So a single DLC50 preset could
recall both an RX preset and a TX preset, and another could store TX frequency only, while another
could store receiver channel only. Each possible parameter that can be stored in a preset is selected or
deselected in the preset setup configuration. When a DLC50 preset is saved, only the parameters
selected by the user, will be saved in the DLC50 preset. The Preset setup list may be changed for each
preset if desired.
4.8 Simple UI Setup
Configuration>Simple UI
The DLC50 has an extensive Expert Menu system that provides a broad range of controls and options
for system configuration, control, and maintenance tasks. But only a few items will generally need to be
changed or accessed during actual system operations. The operator typically will be performing many
other tasks in addition to managing the DLC50 so the Simple User Interface (Simple UI) was created to
The document reference is online, please check the correspondence between the online documentation and the printed version.

Table of Contents