EasyManua.ls Logo

Bosch 4022 - Cycle Chart for SHU 3000;4000 Series

Bosch 4022
87 pages
Print Icon
To Next Page IconTo Next Page
To Next Page IconTo Next Page
To Previous Page IconTo Previous Page
To Previous Page IconTo Previous Page
Loading...
H
11
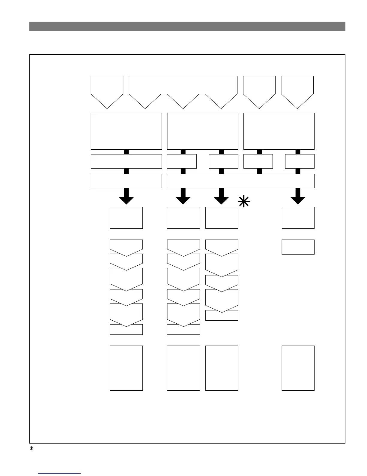
Cycle Chart
SHU 3002/3006/3012/3016/4002/4006/4016/4022/4026/4036
Delicate cycle not used on SHU 3002/3006/3012/3016
Drying
85
6.55
24.75
78
6.55
24.75
10
1.19
4.5
Rinse-aid
161˚F
Rinse
Wash
161˚F
Pre-wash
70
5.36
20.25
Type of dishware
e.g. china,
pots/pans,
cutlery,
glasses,
etc.
Wash
cycle
Cycle
sequence
Cycle
details
Duration in
minutes
Water consumption
in gallons
Water consumption
in liters
Type of food
remains
Amount of
food remains
Condition of
food remains
Shown above are the range of values that may be obtained while running the dishwasher under normal
conditions. Actual values may vary. The actual cycle duration, water and energy usage are dependent upon
inlet water temperature.
Non-deli-
cate
Soups, casseroles,
sauces, potatoes,
pasta, rice, eggs,
roast or fried food
a lot
stuck on hard
a lot a little a little very little
Power
Scrub
Regular
Wash
Pre-rinse
Drying
Rinse-aid
161˚F
Rinse
Wash
140˚F
Pre-wash
Pre-rinse Pre-rinse
Rinse
& Hold
Soups, potatoes,
pasta, rice, eggs,
roast or fried food
Coffee, cakes, milk,
salami, cold drinks,
salads
Mixed MixedDelicate
loosely attached
Delicate
Wash
Drying
Rinse-aid
161˚F
Rinse
Wash
140˚F
Pre-rinse

Table of Contents

Related product manuals