EasyManua.ls Logo

Bosch AGS20-2 - Page 14

Bosch AGS20-2
28 pages
Print Icon
To Next Page IconTo Next Page
To Next Page IconTo Next Page
To Previous Page IconTo Previous Page
To Previous Page IconTo Previous Page
Loading...
14 | Commissioning
AGS10-2, AGS10E-2, AGS20-2, AGS50-26 720 811 270 (2015/04)
6.2.3 Replacing water with heat transfer medium
You can use electric pumps, hand pumps or power drill attachments
capable of generating pressures of at least 2 bar for filling.
Using a pump, fill the solar system via one of the fill and drain valves
[1] in the solar pump station.
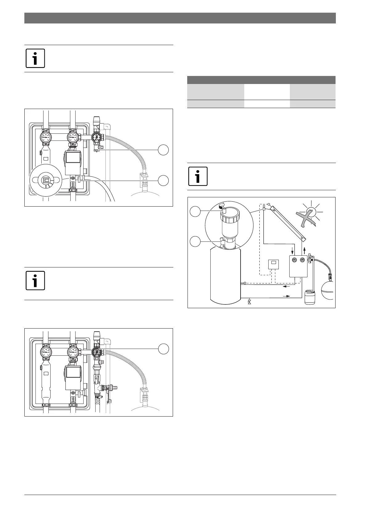
Fig. 23 Filling via DFV
Set the ball valves ( Fig. 22, [1]) on the thermometers to 45° and
open the flow limiter ( Fig. 22, [2]) and other shut-off devices.
Fill the solar system slowly so that air bubbles do not form.
Lastly, set the ball valves on the thermometers so that the gravity
brakes are ready for operation (0° position).
6.2.4 Verifying that the solar thermal system is free of air
Switch the solar pump(s) on and off manually.
While switching the pump on and off, observe the black pointer on the
pressure gauge [1] on the safety assembly.
Fig. 24 Checking the pressure gauge display
6.2.5 Determining the operating pressure
When putting the system into operation, the operating pressure must be
0.7 bar above the static pressure (1 metre difference in height equals
0.1 bar).
The system pressure must be at least 1.5 bar (when cold, 20 °C).
If there is not enough pressure, pump in more heat transfer medium.
Once ventilation is complete, close the ball valve [2] of the air vent
and the plug screw [1].
Fig. 25 Closing the air vent and ball valve
The pipes must be completely emptied of water,
otherwise the heat transfer medium can become diluted.
If the black pointer on the pressure gauge [1] indicates
pressure fluctuations when the solar pump is switched on
and off, there is still air in the solar thermal system which
must be removed.
7747006489.36-2.ST7747006489.36-2.ST
1
1
S E
7747006489.33-2.ST
1
Flat plate Evacuated tube
Static height
1)
1) A one metre difference in height (between collector array and solar pump station)
means 0.1 bar
(10 m) 1.0 bar (10 m) 1.0 bar
+ allowance + 0.7 bar + 2.0 bar
= operating pressure = 1.7 bar = 3.0 bar
Table 9 Example: collector-dependent operating pressure
When heat transfer medium evaporates in the collector,
pressure relief can only be achieved by the solar
expansion vessel if the air vent is closed.
6720801165.15-2.ST
2
1

Related product manuals