EasyManua.ls Logo

Bosch AGS20-2 - 1 Symbols and Safety Instructions; 1.1 Key to Symbols; 1.2 General Safety Instructions

Bosch AGS20-2
28 pages
Print Icon
To Next Page IconTo Next Page
To Next Page IconTo Next Page
To Previous Page IconTo Previous Page
To Previous Page IconTo Previous Page
Loading...
Information on the solar pump station | 3
6 720 811 270 (2015/04)AGS10-2, AGS10E-2, AGS20-2, AGS50-2
Instructing the user
Instruct users as to how the appliance functions, as well as how to
operate the system as a whole.
Explain that conversions and maintenance must only be carried out by
an authorised contractor.
Point out the need for inspections and maintenance for safe and
environmentally friendly operation.
Hand these installation and maintenance instructions to the user.
Point out that these instructions must be kept and passed on to the
next owner/user.
2 Information on the solar pump station
2.1 Product description
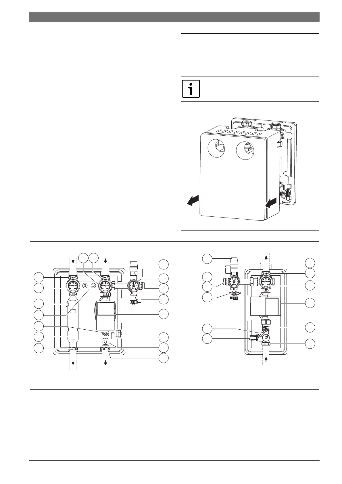
If you wish to open the solar pump station:
Pull the cover (insulation part) forwards.
Fig. 1
Fig. 2 Single and twin-line solar pump stations without front insulation parts and without integral controllers and modules
[1] Ball valve with thermometer (red = flow
1)
, blue = return) and
integrated check valve
(position 0° = normal running, 45° = check valve bypassed)
[2] Compression fitting
[3] Pressure relief valve
[4] Pressure gauge
[5] Connection for expansion vessel
[6] Drain & fill valve (DFV)
[7] High-efficiency pump (with power cable and sensor cable)
[8] Flow limiter, type A
[9] Flow limiter, type B
[10] Air separator
1)
[11] Control/shut-off valve
[12] Holder for wall mounting
[13] Ventilation
1)
The illustrations in this manual show the twin-line solar
pump station with external solar controller.
6720801165.05-2.ST
11
2
10
1
2
3
4
5
6
8
2
1
2
13
12
3
4
5
6
9
6
2
1
2
11
6720801165.06-2.ST
12
7
6
7
8
AGS10-2, AGS20-2, AGS50-2 AGS10E-2
1) Not for single-line solar pump stations

Related product manuals