EasyManua.ls Logo

Brainchild P41 - Page 16

Brainchild P41
100 pages
Print Icon
To Next Page IconTo Next Page
To Next Page IconTo Next Page
To Previous Page IconTo Previous Page
To Previous Page IconTo Previous Page
Loading...
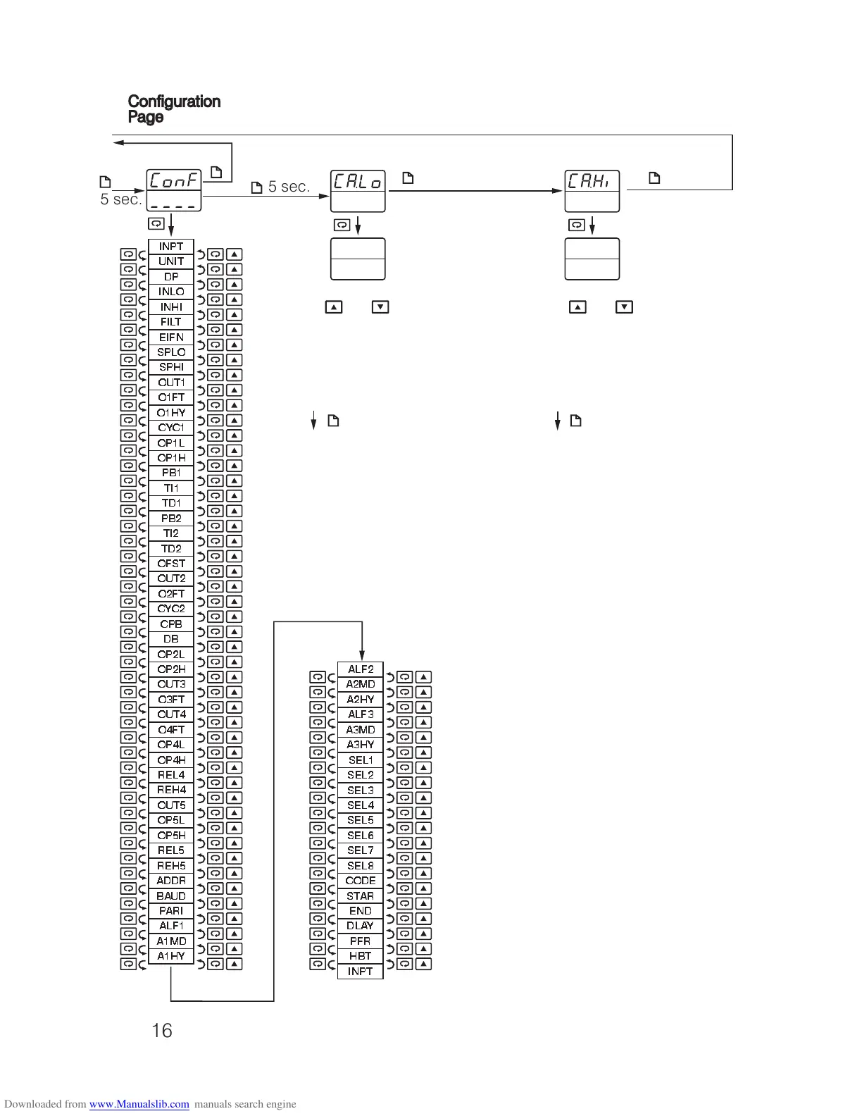
(CALO)
(OFSTL)
PV
Using or key to
adjust the offset low value
(lower display) until the
process value (higher display)
is equal to the required value,
then
(CAHI)
(OFSTH)
PV
Using or key to
adjust the offset high value
(lower display) until the
process value (higher display)
is equal to the required value,
then
5sec.
Complete calibration
procedure for the
high point calibration.
5sec.
Complete calibration
procedure for the
low point calibration.
Low
Calibration
Page
Low
Calibration
Page
High
Calibration
Page
High
Calibration
Page
UM0P411C
INPT
UNIT
DP
INLO
SPLO
FILT
O1HY
INHI
O1FT
SPHI
EIFN
CYC1
OP1L
OP1H
OUT2
O2FT
CYC2
PB1
PB2
OUT1
TI1
TI2
TD1
TD2
OFST
CPB
DB
OP2L
OP2H
O3FT
OUT3
OUT4
O4FT
OUT5
REH4
REL4
OP4H
OP4L
OP5L
OP5H
REL5
REH5
ADDR
BAUD
PARI
ALF1
A1MD
A1HY
Configuration
Page
Configuration
Page
ALF2
A2MD
A2HY
ALF3
A3MD
A3HY
STAR
END
DLAY
PFR
HBT
CODE
SEL1
SEL2
SEL3
SEL4
SEL5
SEL6
SEL7
SEL8
INPT
16
5sec.
5sec.

Table of Contents

Related product manuals