EasyManua.ls Logo

Broan SPE136SS - Page 49

Broan SPE136SS
50 pages
Print Icon
To Next Page IconTo Next Page
To Next Page IconTo Next Page
To Previous Page IconTo Previous Page
To Previous Page IconTo Previous Page
Loading...
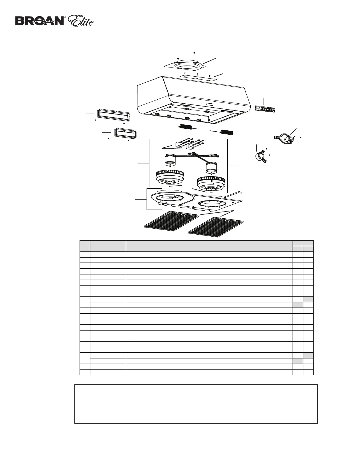
MANUAL DE INSTALACIÓN
PIEZAS DE REPUESTO
242424
* ÍTEM NO MOSTRADO.
REPUESTOS Y REPARACIONES
Para que el aparato esté en buenas condiciones, use sólo repuestos genuinos Broan-NuTone LLC o Venmar Ventilation ULC. Los
repuestos genuinos Broan-NuTone LLC o Venmar Ventilation ULC están diseñados especialmente para cada unidad y han sido
fabricados para responder a las normas de certificación aplicables y mantener un alto nivel de seguridad. Los repuestos de otros
fabricantes pueden dañar seriamente el aparato y reducir drásticamente su nivel de rendimiento, lo cual podría causar una falla
prematura. Broan-NuTone LLC y Venmar Ventilation ULC recomiendan comunicar con un centro de servicios autorizado para todos los
repuestos y reparaciones.
SERIE SPE1
N. N. DE PIEZA DESCRIPCIÓN
CANTIDAD
30" 36"
1 S97020031 P
LACA DE CUBIERTA DE RECIRCULACIÓN, ACERO INOX. (INCLUYE TORNILLOS)11
2 SR680508 P
LACA DE CONDUCTO REDONDO DE 7” (INCLUYE TORNILLOS)11
3 S97020469 C
ONJUNTO DE CLAPETA DE 3¼” X 14” (INCLUYE TORNILLOS)11
4 S97020534 C
ONJUNTO DE CLAPETA DE 3¼” X 10” (INCLUYE TORNILLOS)11
5 S97021325 C
ONDENSADOR (INCLUYE TIRA DE AMARRE)22
6 S97021328 M
ONTAJE DEL VENTILADOR ROTACIÓN A DERECHA (INCLUYE N.° 5, N.° 7 Y FERRERIA DE MONTAJE)1 1
7 SR99420635 C
LIP DE LA HÉLICE 22
8 S97021339 P
LACAS DE CUBIERTA DE LOS VENTILADORES (CON AROS DE ENTRADA DE AIRE)11
9
S97020204-001 F
ILTRO DE GRASA - HÍBRIDO - TIPO B5 (JUEGO DE 2) 1
S97020204-002 F
ILTRO DE GRASA - HÍBRIDO - TIPO C5 (JUEGO DE 2) 1
10 S97021329 M
ONTAJE DEL VENTILADOR ROTACIÓN A IZQUIERDA (INCLUYE N.° 5, N.° 7 Y FERRERIA DE MONTAJE)1 1
11 S97020444 M
ÓDULO DE LED (JUEGO DE 2) 1 1
12 S97020446 A
CTIVADOR LED ENERGY STA R (INCLUYE TORNILLOS)11
13 S97021392 E
NSAMBLAJE DE TRANSFORMADOR 24 V 18 VA (INCLUYE TORNILLOS)11
14 S97020434 C
ONTROLES TÁCTILES SUAVES LED, ACERO INOX. (INCLUYE TORNILLOS)11
* S97021330 H
ARNÉS DE HILOS 11
* S97020360
B
OLSA DE PIEZAS, INCLUYE: 4 TORNILLOS PARA METAL N.° 8-18 X 1/2”, 6 TORNILLOS DE CABEZA
REDONDA PARA MADERA N.° 8 X 5/8”, 6 TORNILLOS EMBUDITOS PARA MADERA N.° 8 X 1/2”
11
*
S97020465 F
ILTRO DE RECIRCULACIÓN - TIPO XB (JUEGO DE 2) (INSTALACIÓN SIN CONDUCTOS ÚNICAMENTE)1
S97020466 F
ILTRO DE RECIRCULACIÓN - TIPO XC (JUEGO DE 2) (INSTALACIÓN SIN CONDUCTOS ÚNICAMENTE)1
* S99527587 J
UEGO DE SUJETADORES PARA FILTROS DE CARBÓN – INCLUYE 4 SUJETADORES 11
* S97020470 E
QUIPO PARA FÁCIL INSTALACIÓN (INCLUYE TORNILLOS)11
B
C
D
F
G
J
K
L
M
E
N
H
I
O

Related product manuals