EasyManua.ls Logo

Broce FMJ470 - Page 54

Broce FMJ470
58 pages
Print Icon
To Next Page IconTo Next Page
To Next Page IconTo Next Page
To Previous Page IconTo Previous Page
To Previous Page IconTo Previous Page
Loading...
!
WARNING: Cancer
and Reproductive Harm
www.P65Warnings.ca.gov
54
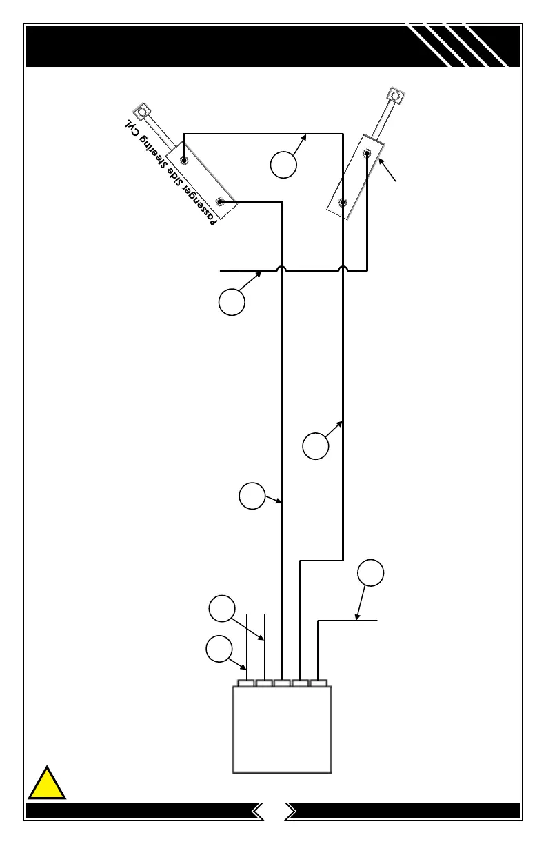
BROCE FMJ470
Steering
Orbitrol
Tank
To
5 Spool
Valve
To
Hydraulic
Tank
8
7
32
33
26
34
9
Tank
Return
Filter
Driver Side Steering Cyl.
SCHEMATICS
(Hydraulic Diagram)