EasyManua.ls Logo

Bryant 315JAV - Page 3

Bryant 315JAV
12 pages
Print Icon
To Next Page IconTo Next Page
To Next Page IconTo Next Page
To Previous Page IconTo Previous Page
To Previous Page IconTo Previous Page
Loading...
3
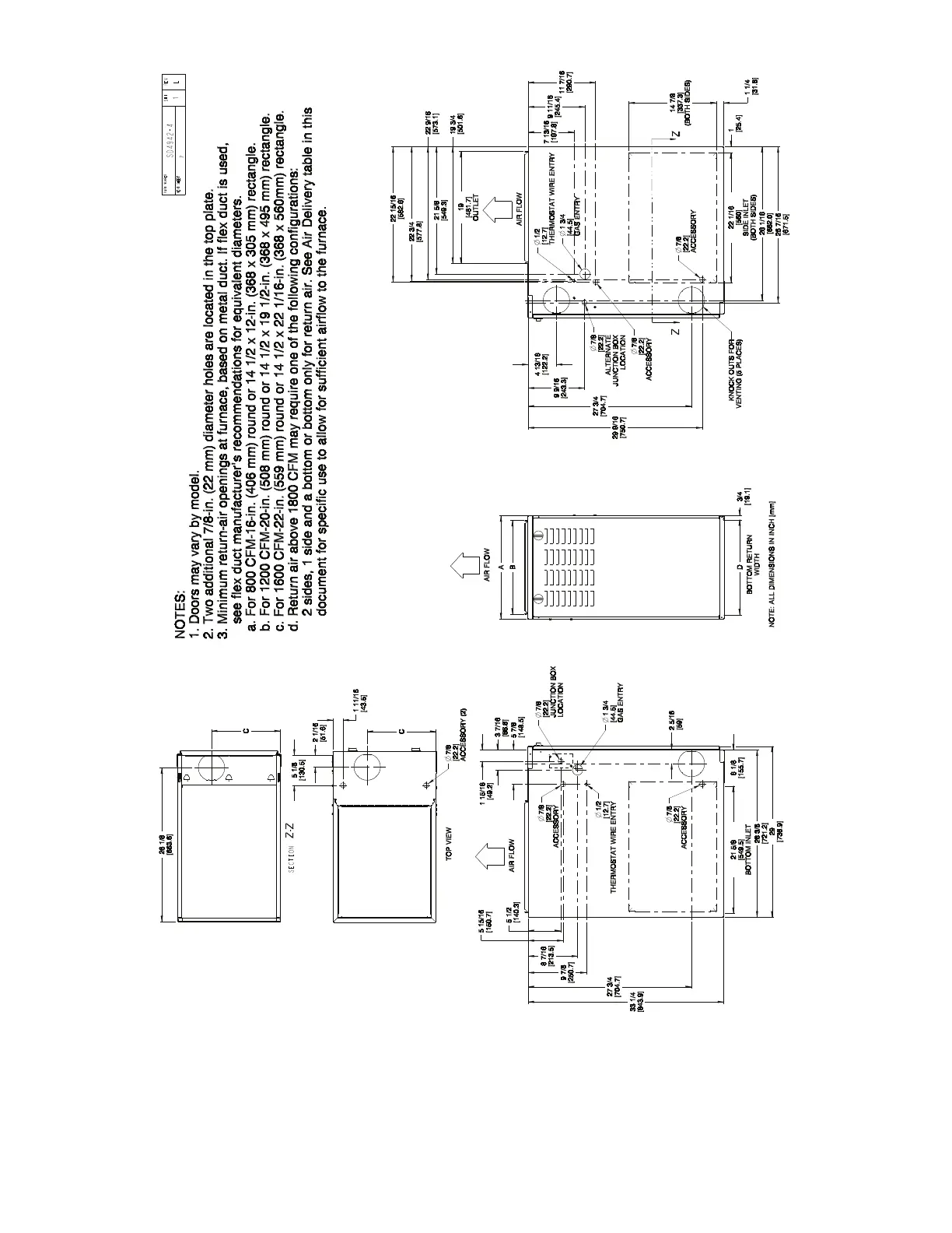
DIMENSIONS
A180207

Other manuals for Bryant 315JAV

Related product manuals