EasyManua.ls Logo

Bryant 355AAV - Page 30

Bryant 355AAV
60 pages
Print Icon
To Next Page IconTo Next Page
To Next Page IconTo Next Page
To Previous Page IconTo Previous Page
To Previous Page IconTo Previous Page
Loading...
30
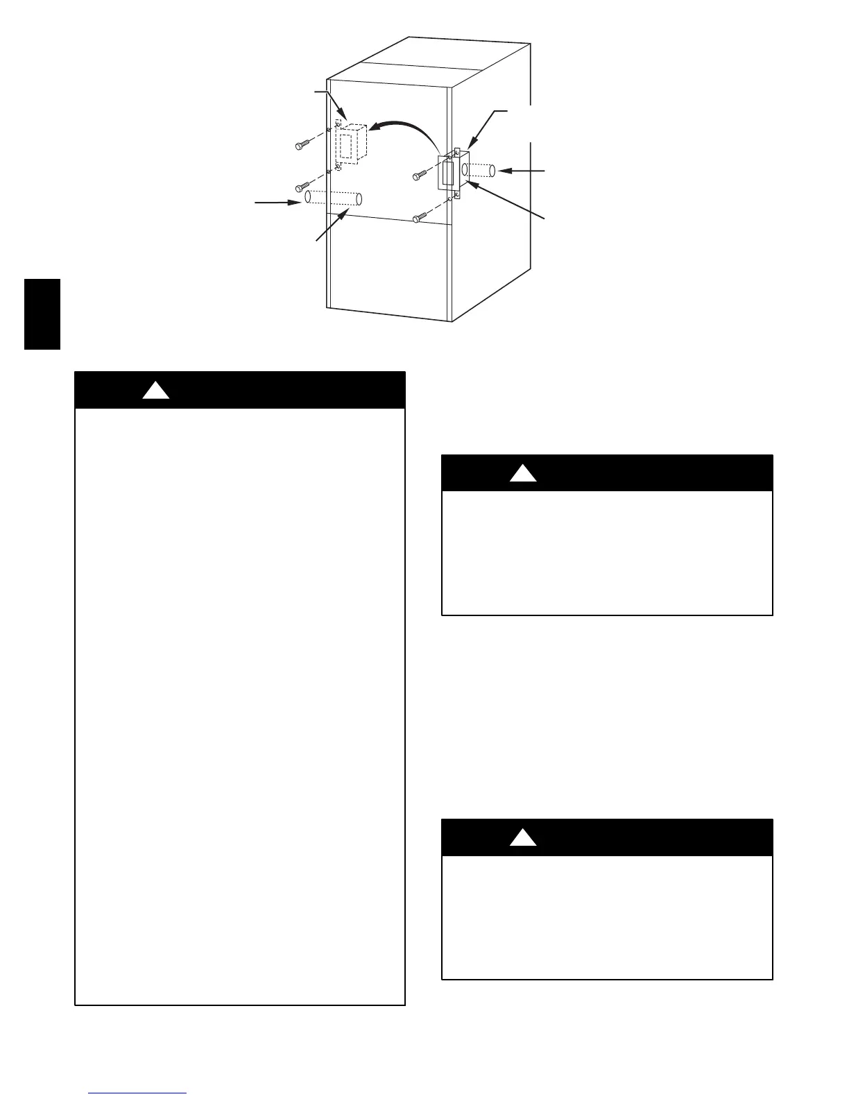
FACTORY
INSTALLED
LOCATION
ALTERNATE
FIELD
LOCATION
POWER ENTRY HOLE
FILLER PLUG (FACTORY-
SUPPLIED LOOSE PARTS BAG)
UNUSED 7/8-IN. (22 mm) DIAMETER
POWER ENTRY HOLES
UNUSED 7/8-IN. (22 mm) DIAMETER
POWER ENTRY HOLES
POWER ENTRY HOLE
FILLER PLUG (FACTORY-
SUPPLIED LOOSE PARTS BAG)
A05058
Fig. 35 -- Relocating J-Box
CARBON MONOXIDE POISONING HAZARD
Failure to follow the steps outlined below for each appliance
connected to the venting system being placed into operation
could result in carbon monoxide poisoning or death.
The following steps shall be followed for each appliance
connected to the venting system being placed into operation,
while all other appliances connected to the venting system are
not in operation:
1. Seal any unused openings in venting system.
2. Inspect the venting system for proper size and horizontal
pitch, as required in the National Fuel Gas Code, ANSI
Z223.1-- 2006/NFPA 54 --2006 or the CSA B149.1-- 05, Natural
Gas and Propane Installation Code and these instructions.
Determine that there is no blockage or restriction, leakage,
corrosion and other deficiencies, which could cause an unsafe
condition.
3. As far as practical, close all building doors and windows
and all doors between the space in which the appliance(s)
connected to the venting system are located and other spaces
of the building.
4. Close fireplace dampers.
5. Turn on clothes dryers and any appliance not connected to
the venting system. Turn on any exhaust fans, such as range
hoods and bathroom exhausts, so they are operating at
maximum speed. Do not operate a summer exhaust fan.
6. Follow the lighting instructions. Place the appliance being
inspected into operation. Adjust the thermostat so appliance is
operating continuously.
7. T e st for spillage from draft hood equipped appliances at the
draft hood relief opening after 5 minutes of main burner
operation. Use the flame of a match or candle.
8. If improper venting is observed during any of the above
tests, the venting system must be corrected in accordance with
the National Fuel Gas Code, ANSI Z223.1-- 2006/NFPA
54--2006 and/or CSA B149.1--05, Natural Gas and Propane
Installation Code.
9. After it has been determined that each appliance connected
to the venting system properly vents when tested as outlined
above, return doors, windows, exhaust fans, fireplace dampers
and any other gas-- fired burning appliance to their previous
conditions of use.
!
WARNING
MATERIALS
Combustion--air and vent pipe, fittings, primers, and solvents must
conform to American National Standards Institute (ANSI)
standards and American Society for Testing and Materials (ASTM)
standards. See Table 7 for approved materials for use in the U.S.A.
FIRE AND EXPLOSION HAZARD
Failure to follow this warning could result in fire, property
damage, personal injury or death.
Solvent cements are combustible. Keep away from heat,
sparks, and open flame. Use only in well--ventilated areas.
Avoid breathing in vapor or allowing contact with skin or
eyes.
!
WARNING
In Canada, construct all combustion--air and vent pipes for this unit
of CSA or ULC listed schedule-- 4 0 PVC, PVC--DWV o r
ABSDWV pipe and pipe cement. SDR pipe is NOT approved in
Canada.
In direct vent (2--pipe) systems, combustion air and vent pipes
must terminate together in same atmospheric pressure zone, either
through roof or sidewall (roof termination preferred), using
accessory termination kit. See T able 8 for required clearances.
In non --direct vent (1--pipe) system, vent pipe termination must be
installed with adequate clearances to building openings and
equipment to comply with national and local codes. See Table 9 for
required clearances.
CARBON MONOXIDE POISONING HAZARD
Failure to follow this warning could result in property damage,
personal injury, or death.
All combustion-- air and vent pipes must be airtight and
watertight. Pipes must also terminate exactly as shown in Fig.
43 for direct vent (2--pipe) system and Fig. 44 for non-- direct
vent (1-- pipe) system.
!
WARNING
355A

Related product manuals