EasyManua.ls Logo

Bryant 987MB - For a side-mounted external electrical box, complete the following:; Power Cord Installation in Furnace J-Box

Bryant 987MB
76 pages
Print Icon
To Next Page IconTo Next Page
To Next Page IconTo Next Page
To Previous Page IconTo Previous Page
To Previous Page IconTo Previous Page
Loading...
987MB: Installation, Start-up, Operating and Service and Maintenance Instructions
Manufacturer reserves the right to change, at any time, specifications and designs without notice and without obligations.
28
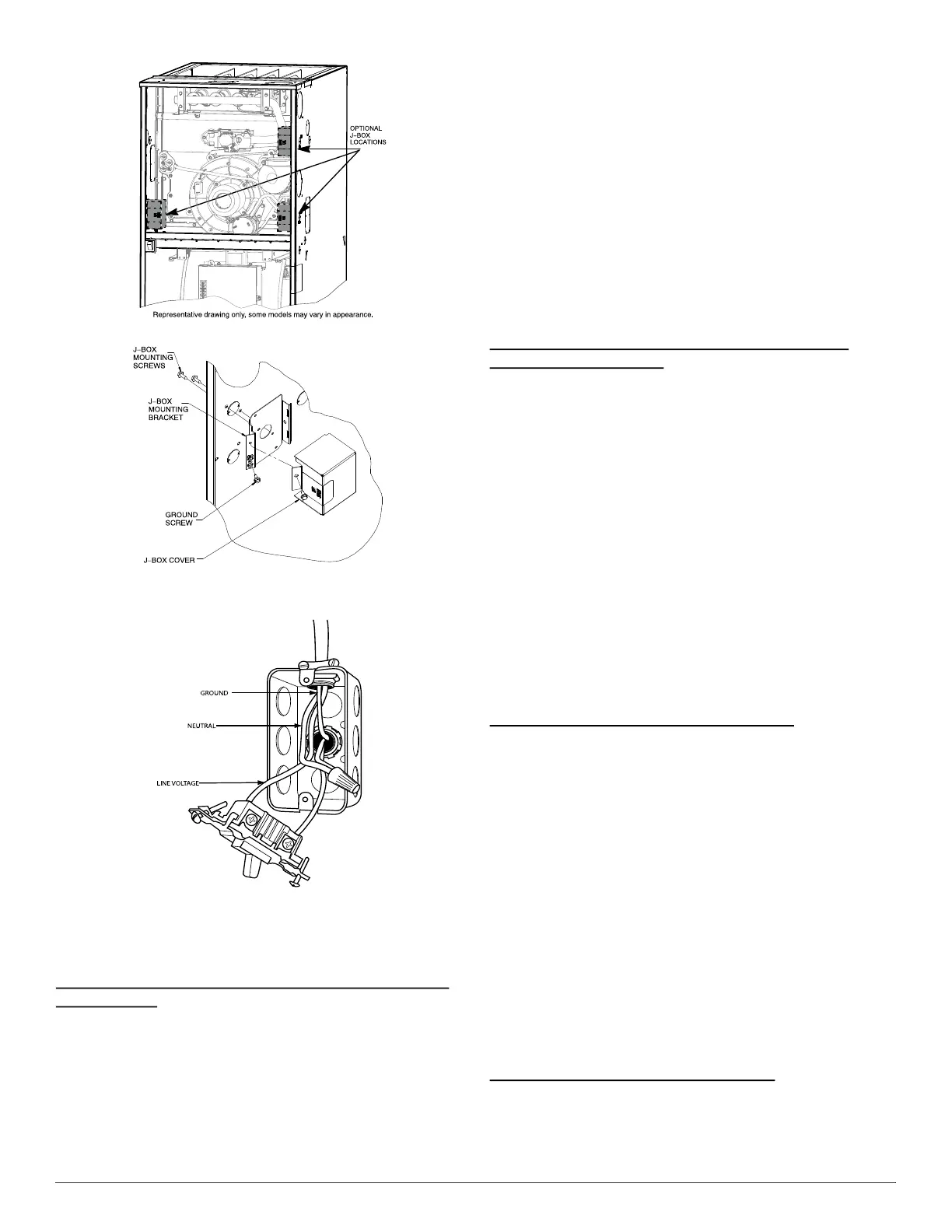
A12226
Fig. 34 – Installing J-Box (When Used)
Appearance May Vary
A190278
Fig. 35 – External Electrical Box
NOTE: If electrical entry through the furnace top panel is used, mark
the screw hole locations using the mounting holes in the external
electrical box as a template.
For a side-mounted external electrical box, complete
the following:
1. Align the J-Box bracket with the knock-out inside the furnace
casing.
2. Install the threaded end of a strain-relief bushing through the J-Box
bracket and the furnace casing. Strain-relief bushing should be
installed so that the bushing can be tightened around the wiring
harness inside the furnace casing.
3. Align the external electrical box with the 7/8-in. (22 mm)
knock-out.
4. Install and tighten the lock-nut on the strain-relief bushing inside
the external electrical box.
5. Fasten the external electrical box to the furnace casing using two
(2) sheet metal screws.
6. Route field power wiring into external electrical box.
7. Pull furnace line voltage power wires through strain-relief bushing
of the external electrical box.
8. Pull the ground wire of the field line voltage wiring through the
strain-relief bushing into the furnace casing.
9. Install the green ground screw to the J-Box bracket and attach both
ground wires to the green ground screw.
10. Connect any code required external disconnect(s) to field power
wiring.
11. Connect field power and neutral leads to furnace power leads inside
the external electrical box as shown in Fig. 35.
For a top panel-mounted external electrical box,
complete the following:
1. Drill two (2) 1/8-in. (3 mm) pilot holes through the dimples in the
furnace casing near the 7/8-in. knock-out on the side of the casing.
Do not remove the knock-out in the side of the casing.
2. Align the J-Box bracket with the pilot holes inside the furnace
casing.
3. Install 2 screws through the outside of the casing to secure the
J-Box bracket to the furnace casing.
4. Route field power wiring into external electrical box.
5. Pull furnace line voltage power wires through strain-relief bushing
of the external electrical box.
6. Pull the ground wire of the field line voltage wiring through the
strain-relief bushing into the furnace casing.
7. Install the green ground screw to the J-Box bracket and attach both
ground wires to the green ground screw.
8. Connect any code required external disconnect(s) to field power
wiring.
9. Connect field power and neutral leads to furnace power leads inside
the external electrical box as shown in Fig. 35.
Power Cord Installation in Furnace J-Box
NOTE: Power cords must be able to handle the electrical requirements
listed in Table 9. Refer to power cord manufacturer’s listings.
1. Install J-Box mounting bracket to inside of furnace casing, see
Fig. 34.
2. Route listed power cord through 7/8-in. (22 mm) diameter hole in
casing and J-Box bracket.
3. Secure power cord to J-Box bracket with a strain relief bushing or a
connector approved for the type of cord used.
4. Pull furnace power wires through 1/2-in. (12 mm) diameter hole in
J-Box. If necessary, loosen power wires from strain—relief wire-tie
on furnace wiring harness.
5. Connect field ground wire and factory ground wire to green ground
screw on J-Box mounting bracket as shown in Fig. 34.
6. Connect power cord power and neutral leads to furnace power leads
as shown in Fig. 32.
7. Attach furnace J-Box cover to mounting bracket with screws
supplied in loose parts bag. Do not pinch wires between cover and
bracket, see Fig. 34.
BX Cable Installation in Furnace J-Box
1. Install J-Box mounting bracket to inside of furnace casing, see
Fig. 34.
2. Route BX connector through 7/8-in. (22 mm) diameter hole in
casing and J-Box bracket.

Related product manuals