EasyManua.ls Logo

Bryant DURAPAC 580F - Page 25

Bryant DURAPAC 580F
52 pages
Print Icon
To Next Page IconTo Next Page
To Next Page IconTo Next Page
To Previous Page IconTo Previous Page
To Previous Page IconTo Previous Page
Loading...
25
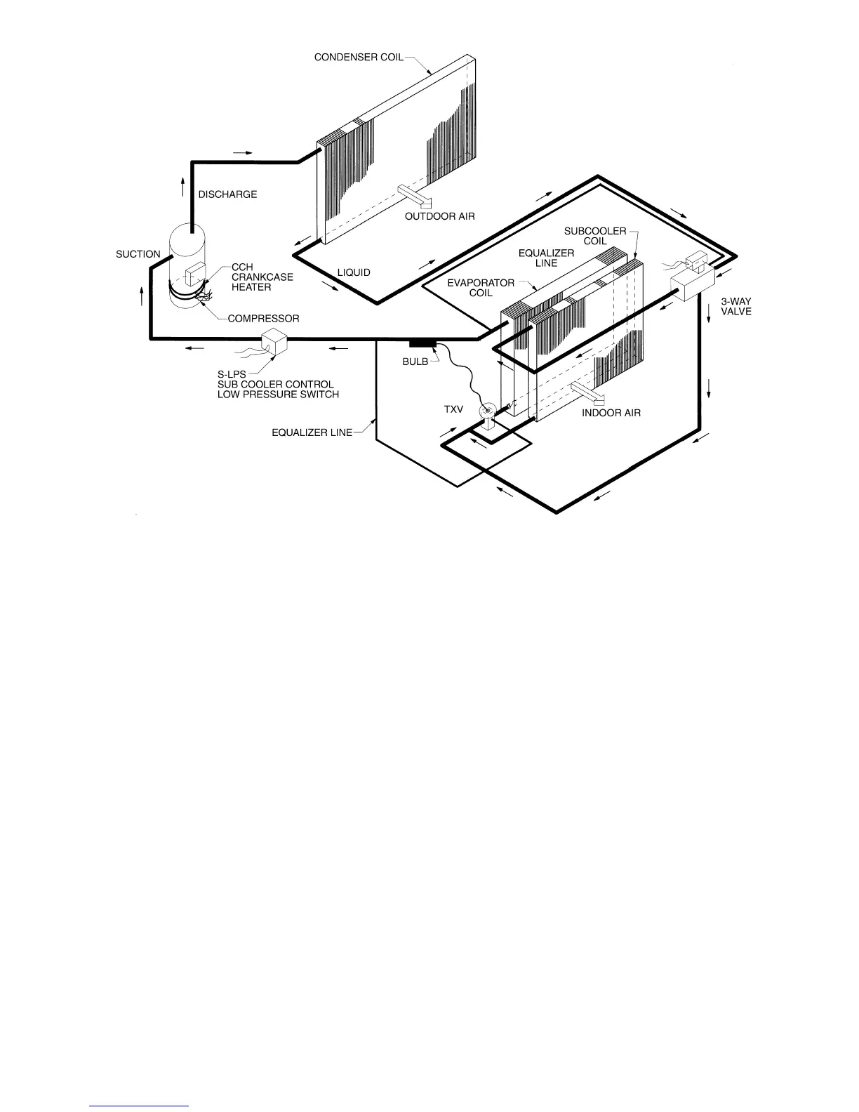
Fig. 36 — Perfect Humidity™ Dehumidification Package Operation Diagram (Single Circuit Shown)

Related product manuals