EasyManua.ls Logo

Burnham SCG - Page 13

Burnham SCG
16 pages
Print Icon
To Next Page IconTo Next Page
To Next Page IconTo Next Page
To Previous Page IconTo Previous Page
To Previous Page IconTo Previous Page
Loading...
5
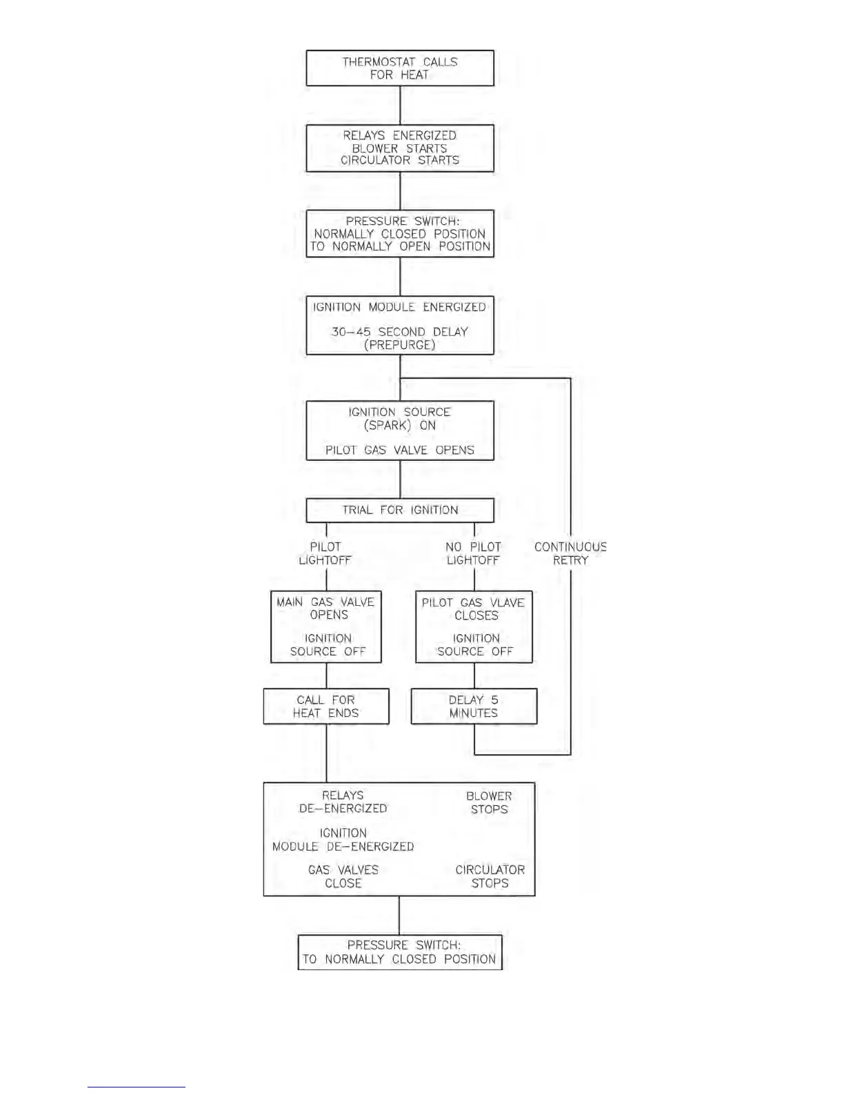
Figure 3: Sequence of Operation

Other manuals for Burnham SCG

Related product manuals