EasyManua.ls Logo

Byron 2204BN - Page 5

Byron 2204BN
17 pages
Print Icon
To Next Page IconTo Next Page
To Next Page IconTo Next Page
To Previous Page IconTo Previous Page
To Previous Page IconTo Previous Page
Loading...
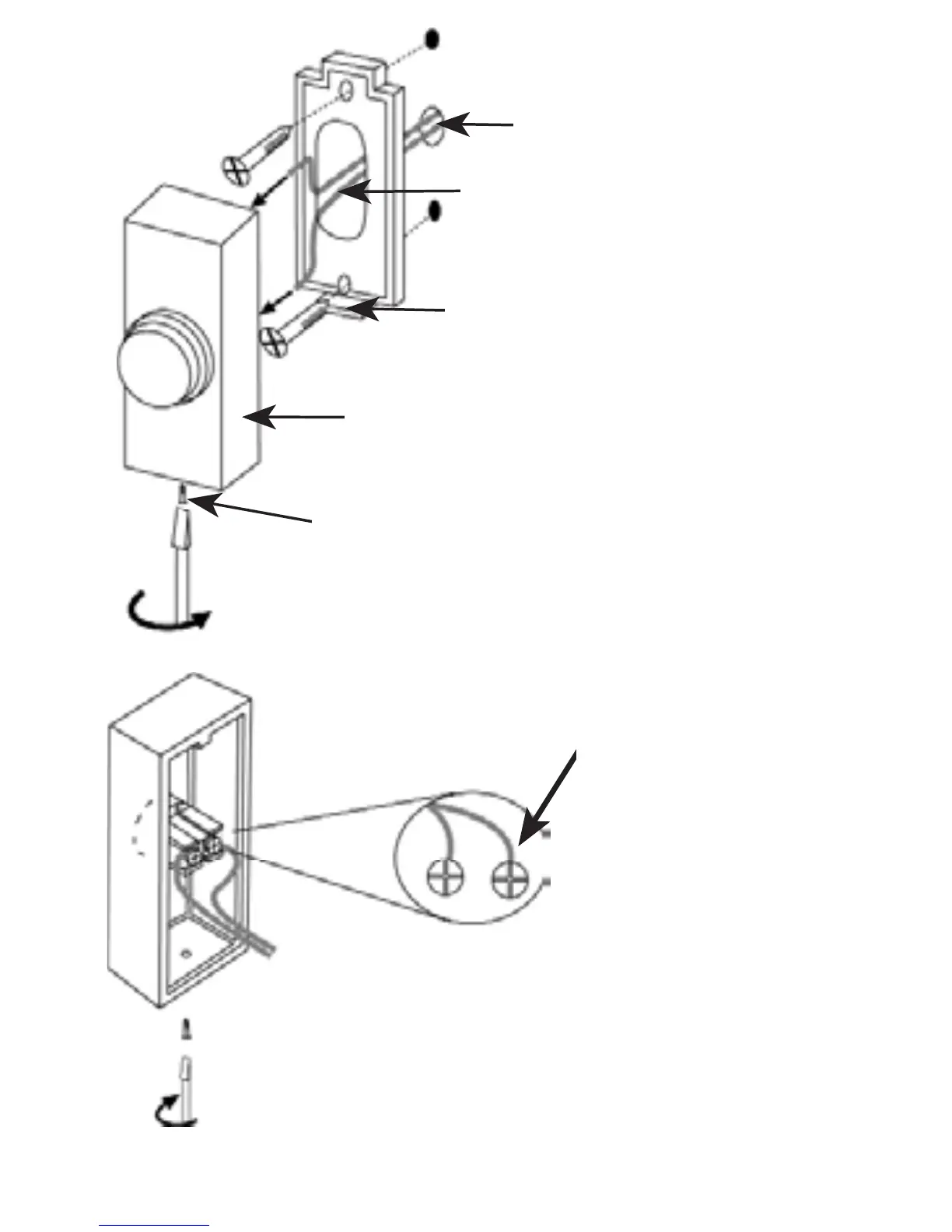
fig.2
Trou de 5 mm dans
chambranle de porte
Fil de sonnerie
Cache de bouton de sonnerie
Vis sans tête
Vue détaillée des
connexions des
bornes situées à
l’arrière du bouton
de sonnette. Pour
obtenir un résultat
optimal, enrouler le
fil nu autour de la
tête de vis de la
borne dans le sens
horaire, puis serrer.
Trou de vis sans tête
fig.1

Related product manuals