EasyManua.ls Logo

Byron 2204BN - Page 7

Byron 2204BN
17 pages
Print Icon
To Next Page IconTo Next Page
To Next Page IconTo Next Page
To Previous Page IconTo Previous Page
To Previous Page IconTo Previous Page
Loading...
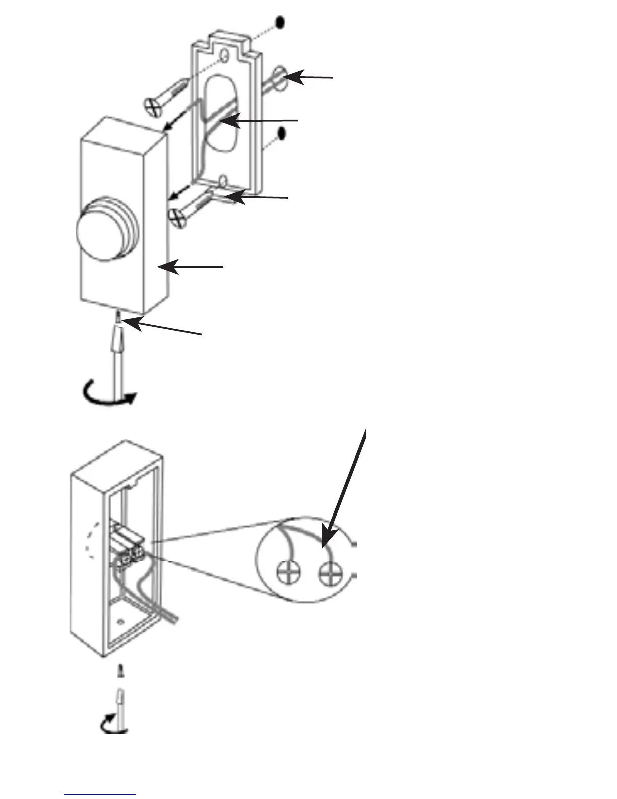
fig.2
5 mm-Loch im
Türrahmen
Klingeldraht
Klingelknopfabdeckung
Madenschraube
Darstellung der
Anschlussklemmen
auf der Rückseite
des Klingelknopfes.
Für beste
Ergebnisse den
blanken
Klingeldraht im
Uhrzeigersinn um
die
Klemmenschraube
herum wickeln und
diese dann anzie-
hen.
Madenschraubenloch
fig.1

Related product manuals