EasyManua.ls Logo

Byron 2204BN - Page 9

Byron 2204BN
17 pages
Print Icon
To Next Page IconTo Next Page
To Next Page IconTo Next Page
To Previous Page IconTo Previous Page
To Previous Page IconTo Previous Page
Loading...
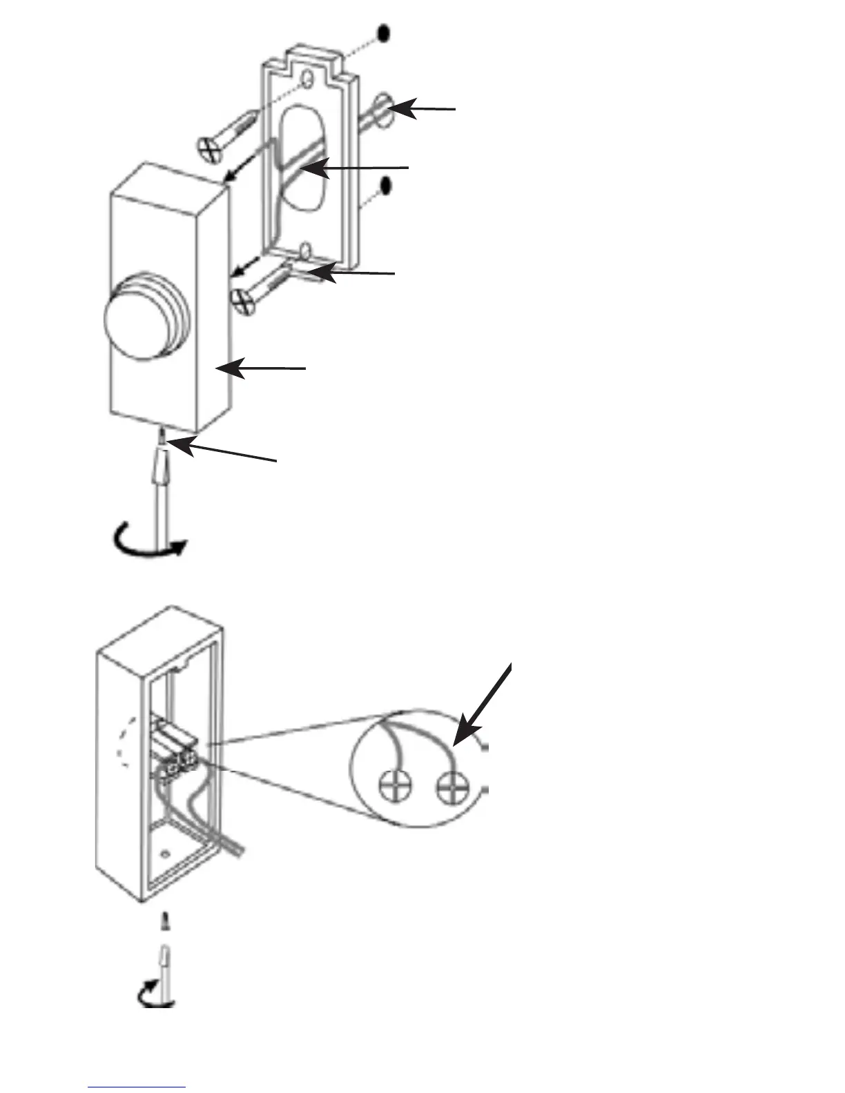
fig.2
Foro di 5 mm nel
telaio della porta
Filo del campanello
Coperchio del pulsante
del campanello
Vite di fermo
Chiusura dei
collegamenti del
terminale situati nella
parte posteriore del
pulsante. Per un
risultato ottimale,
avvolgere il filo nudo
del campanello in
senso orario attorno
alla testa della vite
del terminale e poi
serrare.
Foro per vite di fermo
fig.1

Related product manuals