EasyManua.ls Logo

Caen A 1735 - Front Panel; Fig. 1.1 - Mod. a 1735 - a 1835 (Left)

Default Icon
14 pages
Print Icon
To Next Page IconTo Next Page
To Next Page IconTo Next Page
To Previous Page IconTo Previous Page
To Previous Page IconTo Previous Page
Loading...
Document type:
Revision date:
Revision:
User's Manual (MUT)
24/03/2014
8
NPO:
Filename:
Number of pages:
Page:
00101/00:17XXx.MUTx/08
A1735B-A1835B_REV8.DOCX
14
7
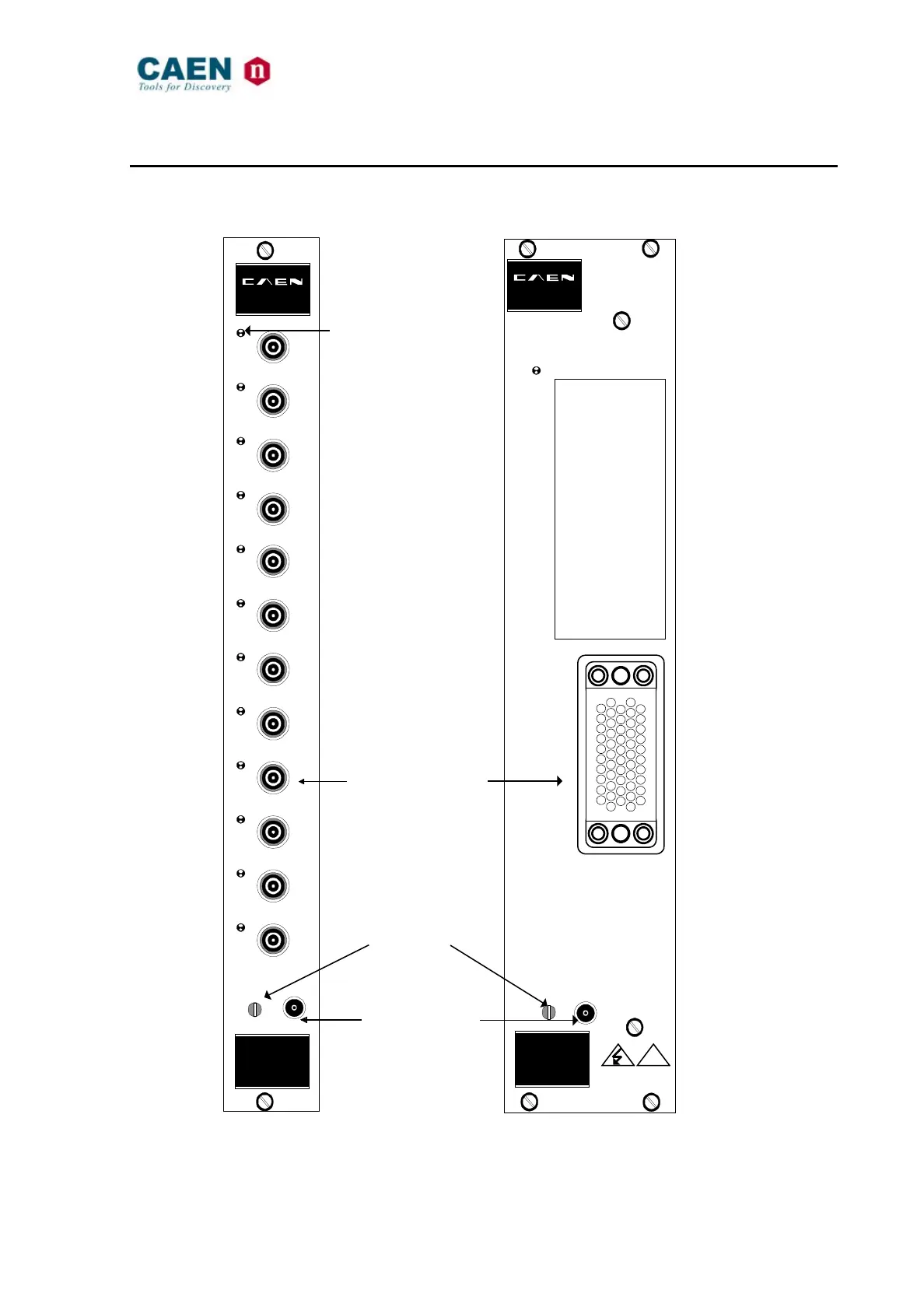
1.3 Front Panel
H
V
E
N
0
2
4
6
8
M
A
X
V
7
5
1
3
9
10
11
H
V
O
U
T
P
U
T
S
SCALER
POSITIVE
12 CH
Mod. V560E
Mod. A 1835P
HV EN input
connector
Channel output
connector
Channel LED
SCALER
Mod. V560E
Mod. A1835BP
28 CH
!
HV EN
MAXV
GND GND
GND GND GND
NC NC
NC NC NC
6 NC
0 12 23
8 19
2 14 25
9 20
3 15 26
10 21
4 16 27
11 22
5 17 NC
NC NC
NC NC IINT
GND GND
GND GND IEXT
GND GND
HV ON
HV OUTPUT
MAXV
trimmer
1.5 KV 7/0.2 mA
POSITIVE
+
+
1.5 KV 7/0.2 mA
1 13 24
7 18
Fig. 1.1 Mod. A 1735 A 1835 (LEFT) and Mod. A 1735B A 1835B (RIGHT) front panel