EasyManua.ls Logo

Candy CLE64KX - Descrizione Dellelettrodomestico; Uso

Candy CLE64KX
23 pages
Print Icon
To Next Page IconTo Next Page
To Next Page IconTo Next Page
To Previous Page IconTo Previous Page
To Previous Page IconTo Previous Page
Loading...
13
Sostituzione del cavo di alimentazione elettrica
Se il cavo di alimentazione elettrica è danneggiato, deve essere sostituito con un
ricambio appropriato.
Il cavo di alimentazione elettrica deve essere sostituito attenendosi alle seguenti istruzioni:
Spegnere l'elettrodomestico con l'interruttore di comando.
Aprire la morsettiera sul lato inferiore del piano cottura.
Svitare le viti dei terminali di fissaggio del cavo.
Il conduttore di terra giallo/verde deve essere collegato
al terminale con il simbolo . Deve essere circa
10 mm più lungo dei conduttori di fase e neutro.
Il conduttore del neutro blu deve essere collegato al terminale contrassegnato con
la lettera (N), mentre il conduttore di fase deve essere collegato al terminale
contrassegnato con la lettera (L).
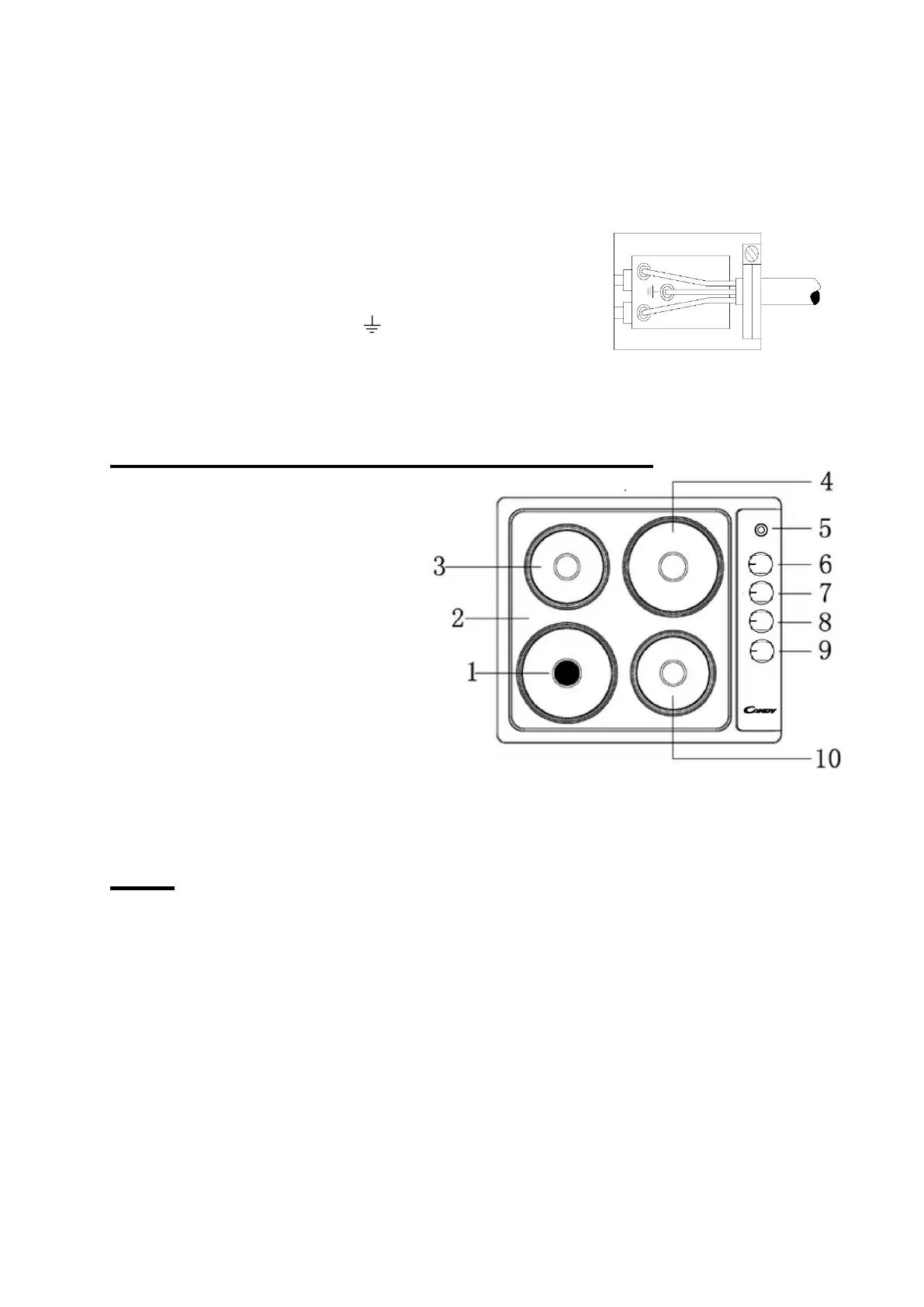
3 Descrizione dell'elettrodomestico
1. piastra scaldante anteriore sinistra,
Ø 190 mm
2. pannello
3.
piastra scaldante posteriore sinistra,
Ø 150 mm
4. piastra scaldante posteriore destra,
Ø 190 mm
5. spia di funzionamento rossa
6. manopola di controllo della piastra
scaldante posteriore sinistra
7. manopola di controllo della piastra
scaldante posteriore destra
8. manopola di controllo della piastra
scaldante anteriore destra
9. manopola di controllo della piastra
scaldante anteriore sinistra
10. piastra scaldante anteriore destra,
Ø 150 mm
Uso
Operazioni preliminari al primo utilizzo
Rimuovere l'imballo e pulire la parte interna del piano cottura.
Attivare la ventilazione nell'ambiente o aprire una finestra.
Importante
La parte interna del forno deve essere lavata solo con acqua calda con un po' di detersivo
per stoviglie.
Utilizzo della piastra calda
Il livello di calore può essere regolato gradualmente ruotando a destra o a sinistra l'apposita
manopola. Accendendo la piastra, si accende una spia verde sul pannello di controllo.
Per risparmiare energia, scegliere pentole delle dimensioni corrette. La pentola
dovrebbe essere dotata di una base spessa e piatta con un diametro pari a quello della
piastra; in questo modo, il calore viene trasmesso con la maggiore efficienza.
N
L1:

Related product manuals