EasyManua.ls Logo

Candy CLE64KX - Description of the Appliance; Operation

Candy CLE64KX
23 pages
Print Icon
To Next Page IconTo Next Page
To Next Page IconTo Next Page
To Previous Page IconTo Previous Page
To Previous Page IconTo Previous Page
Loading...
6
Replacing the mains supply cable
If the mains supply cable is damaged, then it must be replaced by an appropriate
replacement.
The mains supply cable should be replaced in accordance with the following
instructions:
Switch the appliance off at the control switch.
Open the terminal block on the underside of the hob.
Unscrew the terminal screws fixing the cable.
The green-yellow” earth wire must be connected to
the terminal marked . It must be about 10 mm
longer than the live and neutral wires.
The blue” neutral wire must be co nnected to the terminal marked with letter (N) -
the live wire must be connected to the terminal marked with letter (L).
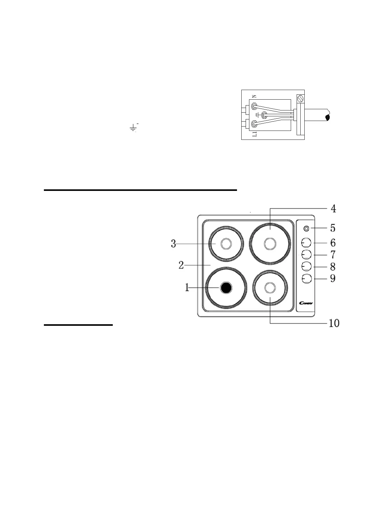
Description of the appliance
1. front left hot plate ,Ø190mm
2. panel
3. rear left hot plate ,Ø150mm
4. rear right hot plate, Ø190mm
5. operating light red
6. rear left hot plate control knob
7. rear right hot plate control knob
8. front right hot plate control knob
9. front left heating plate control knob
10. front right hot plate, Ø150mm
Operation
Before first use
Remove packaging, clean the interior of the hob.
Switch on the ventilation in the room or open a window.
Important!
The inside of the oven should only be washed with warm water and a small amount of
washing-up liquid.
How to use the hot plate
The level of heat can be adjusted gradually by turning the appropriate knob to the right
or left. Switching on the plate results in a green signal light on the control panel turning
on.
An appropriately selected pan saves energy. A pan should have a thick, flat base with
a diameter equal to the plate diameter as in that case is transferred most efficiently.

Related product manuals