EasyManua.ls Logo

Candy CLE64KX - Λειτουργία; Περιγραφή Της Συσκευής

Candy CLE64KX
23 pages
Print Icon
To Next Page IconTo Next Page
To Next Page IconTo Next Page
To Previous Page IconTo Previous Page
To Previous Page IconTo Previous Page
Loading...
21
Αντικατάσταση του καλωδίου παροχής ηλεκτρικού ρεύματος
Εάν το καλώδιο παροχής ηλεκτρικού ρεύματος έχει υποστεί ζημιά, τότε πρέπει
να αντικατασταθεί με κατάλληλο ανταλλακτικό.
Το καλώδιο παροχής ηλεκτρικού ρεύματος πρέπει να αντικατασταθεί σύμφωνα
με τις ακόλουθες οδηγίες:
Απενεργοποιήστε τη συσκευή από τον διακόπτη ελέγχου.
Ανοίξτε το μπλοκ ακροδεκτών στην κάτω πλευρά της εστίας.
Ξεβιδώστε τις βίδες ακροδεκτών που στερεώνουν
το καλώδιο.
Το «πράσινο-
κίτρινο» καλώδιο γείωσης πρέπει να συνδεθεί
στον ακροδέκτη που επισημαίνεται .
Πρέπει να είναι
περίπου 10 mm μακρύτερο από τα ηλεκτροφόρ
α
και ουδέτερα καλώδια.
Το «μπλε» ουδέτερο καλώδιο πρέπει να συνδεθεί στον ακροδέκτη που επισημαίνεται
με το γράμμα (N), ενώ το υπό τάση καλώδιο πρέπει να συνδεθεί στον ακροδέκτη
που επισημαίνεται με το γράμμα (L).
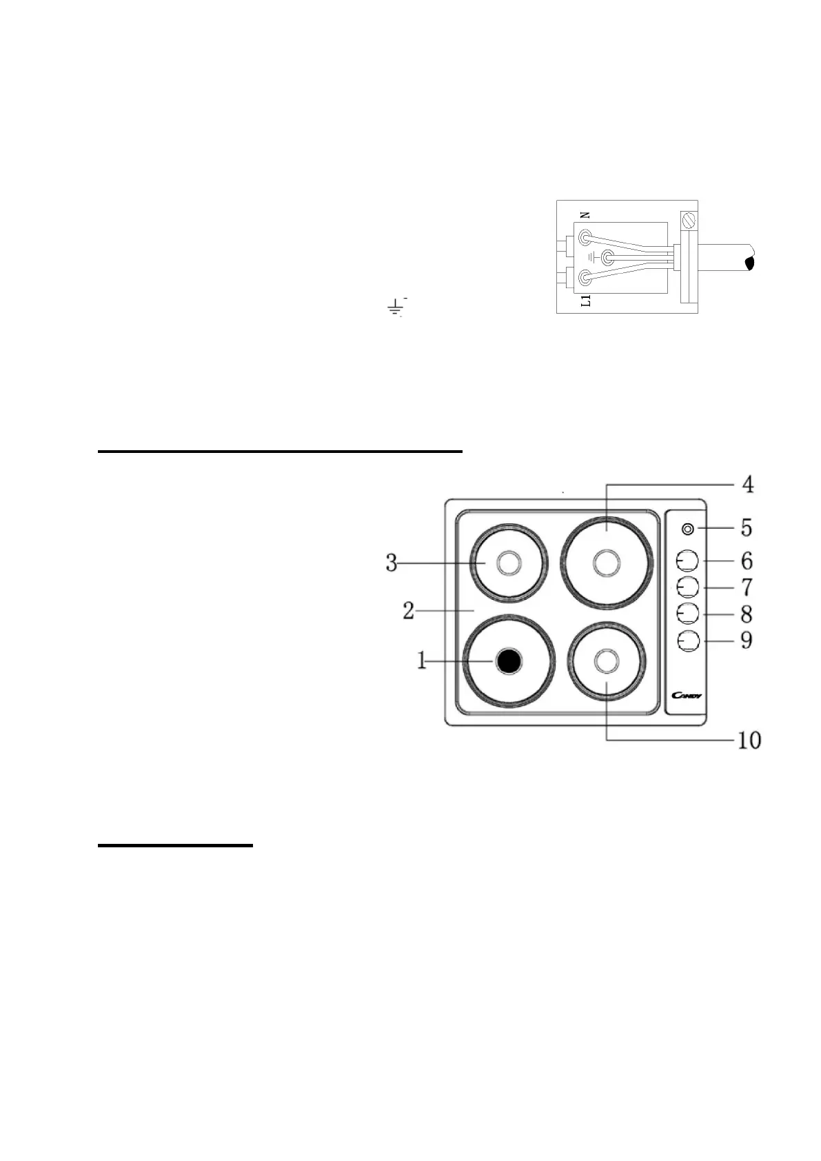
Περιγραφή της συσκευής
1. Μπροστινή αριστερή θερμαινόμενη
πλάκα, Ø190 mm
2.
Πίνακας
3.
Πίσω αριστερή θερμαινόμενη
πλάκα, Ø150 mm
4.
Πίσω δεξιά θερμαινόμενη πλάκα,
Ø190 mm
5.
Κόκκινη λυχνία λειτουργίας
6.
Πίσω αριστερό κουμπί ελέγχου
θερμαινόμενης πλάκας
7.
Πίσω δεξί κουμπί ελέγχου
θερμαινόμενης πλάκας
8.
Μπροστινό δεξί κουμπί ελέγχου
θερμαινόμενης πλάκας
9.
Μπροστινό αριστερό κουμπί
ελέγχου θερμαινόμενης πλάκας
10.
Μπροστινή δεξιά θερμαινόμενη
πλάκα, Ø150 mm
Λειτουργία
Πριν από την πρώτη χρήση
Αφαιρέστε τη συσκευασία και καθαρίστε το εσωτερικό της εστίας.
Ενεργοποιήστε τον εξαερισμό στο δωμάτιο ή ανοίξτε ένα παράθυρο.
Σημαντικό!
Το εσωτερικό του φούρνου πρέπει να πλένεται μόνο με ζεστό νερό και μικρή ποσότητα
υγρού απορρυπαντικού.
Τρόπος χρήσης της πλάκας
Το επίπεδο θερμότητας μπορεί να ρυθμίζεται σταδιακά, περιστρέφοντας το κατάλληλο
κουμπί προς τα δεξιά ή προς τα αριστερά. Η ενεργοποίηση της πλάκας έχει ως αποτέλεσμα
να ανάβει μια πράσινη φωτεινή ένδειξη στον πίνακα ελέγχου.

Related product manuals