EasyManua.ls Logo

Candy CTPS64MCTTWIFI - Page 138

Candy CTPS64MCTTWIFI
258 pages
Print Icon
To Next Page IconTo Next Page
To Next Page IconTo Next Page
To Previous Page IconTo Previous Page
To Previous Page IconTo Previous Page
Loading...
PL-9
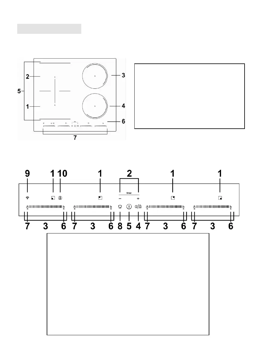
Widok produktu
Widok z góry
Panel sterowania
1. Wskaźnik strefy grzewczej
2. Przycisk regulacji regulatora czasowego
3. Przycisk regulacji poziomu mocy
4. Blokada klawiszy/Funkcja pauzy
5. Przycisk włączania/wyłączania
6. Przycisk funkcji Boost
7. Przycisk funkcji podtrzymania temperatury
8. Przycisk bezpośredniego gotowania
9. Przycisk Wi-Fi
10. Strefa elastyczna

Table of Contents

Related product manuals