EasyManua.ls Logo

Candy CTPS64MCTTWIFI - Product Overview; Top View; Control Panel

Candy CTPS64MCTTWIFI
258 pages
Print Icon
To Next Page IconTo Next Page
To Next Page IconTo Next Page
To Previous Page IconTo Previous Page
To Previous Page IconTo Previous Page
Loading...
EN-8
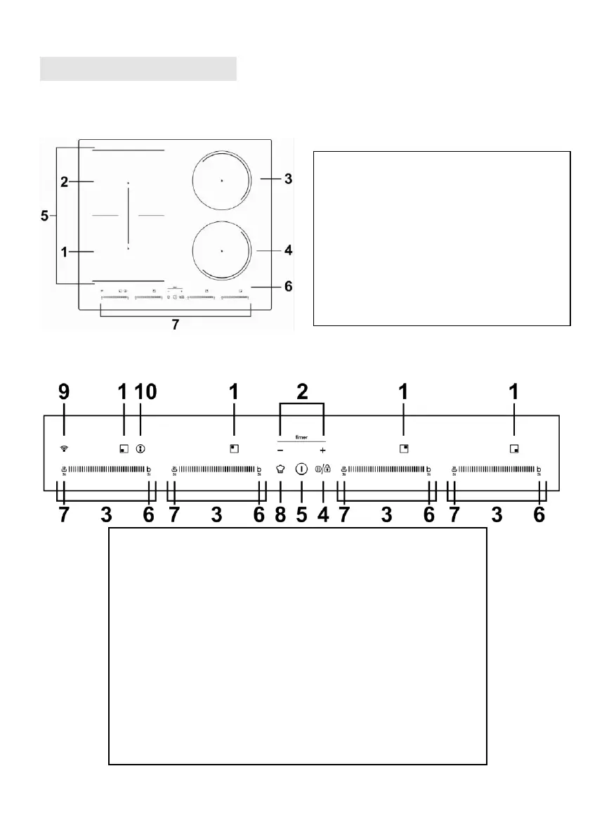
Product Overview
Top View
Control Panel
1. Heating zone indicator
2. Timer regulating key
3. Power level regulating key
4. keylock/ Pause function
5. ON/OFF control
6. Boost function control
7. Keep warm function control
8. Direct cook button
9. WiFi button
10. Flex zone

Table of Contents

Related product manuals