EasyManua.ls Logo

Candy CTPS64MCTTWIFI - Panoramica del Prodotto; Vista Superiore; Pannello Dei Comandi

Candy CTPS64MCTTWIFI
258 pages
Print Icon
To Next Page IconTo Next Page
To Next Page IconTo Next Page
To Previous Page IconTo Previous Page
To Previous Page IconTo Previous Page
Loading...
IT-8
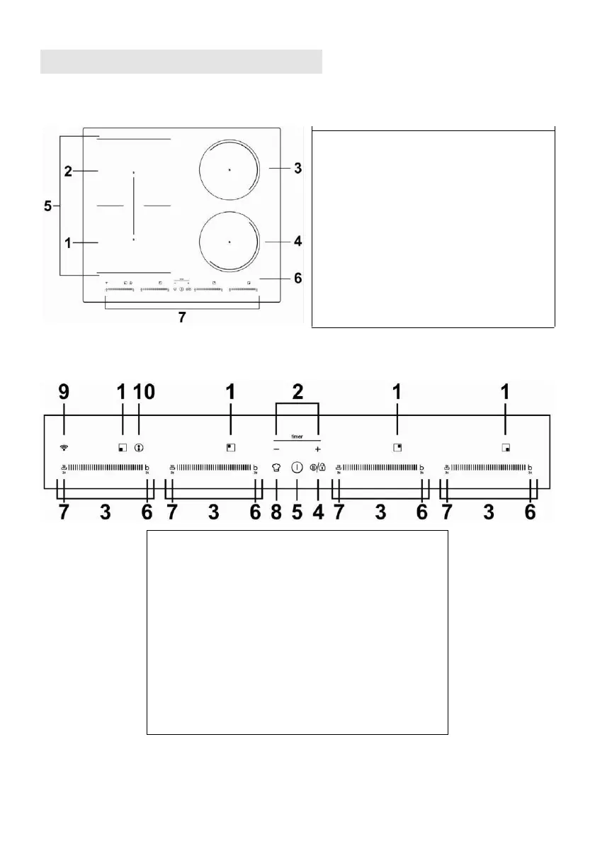
1. Indicatore della zona scaldante
2. Tasto di regolazione del timer
3. Tasto di regolazione del livello di potenza
4. Funzione blocco tasti/pausa
5. Comando di accensione e spegnimento
6. Comando della funzione Boost
7. Comando della funzione Mantenimento in caldo
8. Tasto Direct Cook
9. Tasto WiFi
10. Zona flessibile
Panoramica del prodotto
Vista superiore
1. Zona 2000 W, con incremento della
potenza fino a 2600 W
2. Zona 1500 W, con incremento della
potenza fino a 2000 W
3. Zona 2000 W, con incremento della
potenza fino a 2600 W
4. Zona 1500 W, con incremento della
potenza fino a 2000 W
5. Zona flessibile 2800 W, con
incremento della potenza fino a 3500 W
6. Piastra in vetro
7. Pannello dei comandi
Pannello dei comandi

Table of Contents

Related product manuals