EasyManua.ls Logo

CAP 413 - Page 216

Default Icon
264 pages
Print Icon
To Next Page IconTo Next Page
To Next Page IconTo Next Page
To Previous Page IconTo Previous Page
To Previous Page IconTo Previous Page
Loading...
CAP 413 Radiotelephony Manual
Chapter 11 Page 10
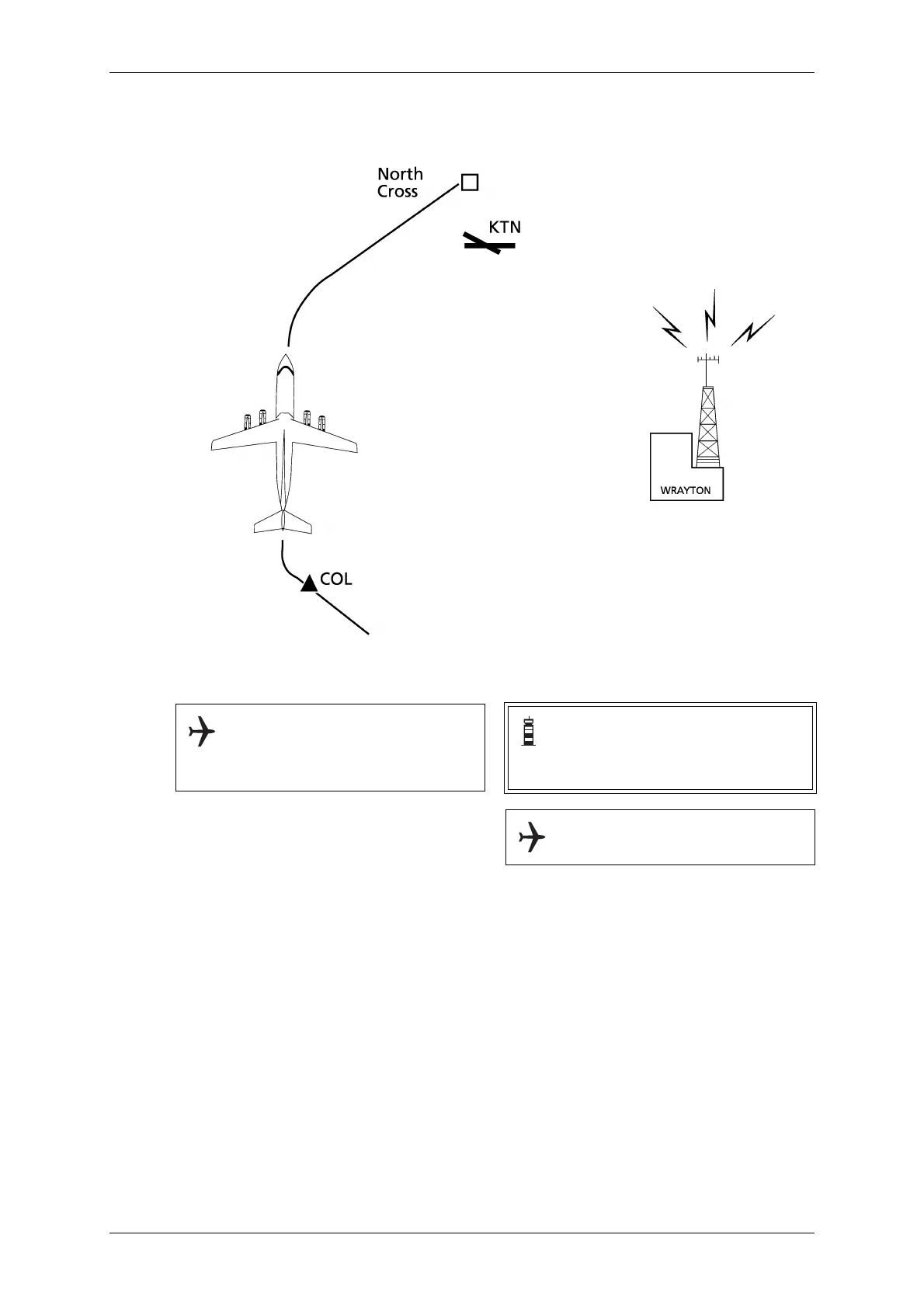
Figure 15 IFR – Pilot Request
BIGJET 347, Colinton 52 FL180
descending FL120 request direct
North Cross for ILS approach at
Kennington
BIGJET 347, Roger. Route direct to
North Cross. Descend FL60. Report
West abeam KTN
Direct North Cross descend FL60.
Wilco, BIGJET 347
31 March 2011

Table of Contents