EasyManua.ls Logo

CAP 413 - Page 225

Default Icon
264 pages
Print Icon
To Next Page IconTo Next Page
To Next Page IconTo Next Page
To Previous Page IconTo Previous Page
To Previous Page IconTo Previous Page
Loading...
CAP 413 Radiotelephony Manual
Chapter 11 Page 19
1.3.4 Post Departure Flight
NOTES:
1 REPORT introduced.
2 CHANGING TO announces intention to change frequency.
3 Transmission of WESSEX Regional Pressure Setting is limited to regional
name and pressure.
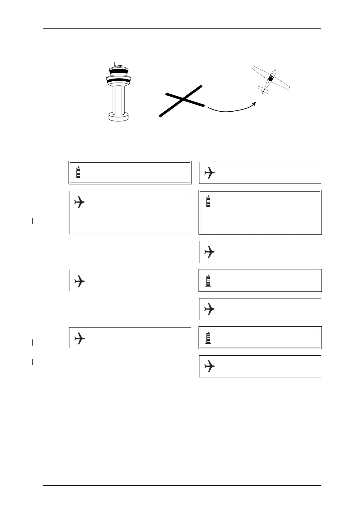
Figure 25 VFR – Departure Report
G-CD, contact Borton Approach
118.750
Borton Approach 118.750, G-CD
Borton Approach, G-ABCD, airborne
runway 14 turning left heading 330
degrees climbing to altitude 2500
feet QNH 990 hectopascals, en–
route Walden
G-CD, Roger. Report reaching 2500
feet
Wilco, G-CD
G-CD, reaching altitude 2500 feet G-CD, Roger report at the zone
boundary
Wilco, G-CD
G-CD, zone boundary changing to
Wrayton Information 125.750
G-CD, Roger, Wessex 988
hectopascals
Wessex 988 hectopascals, G-CD
17 November 2011

Table of Contents