EasyManua.ls Logo

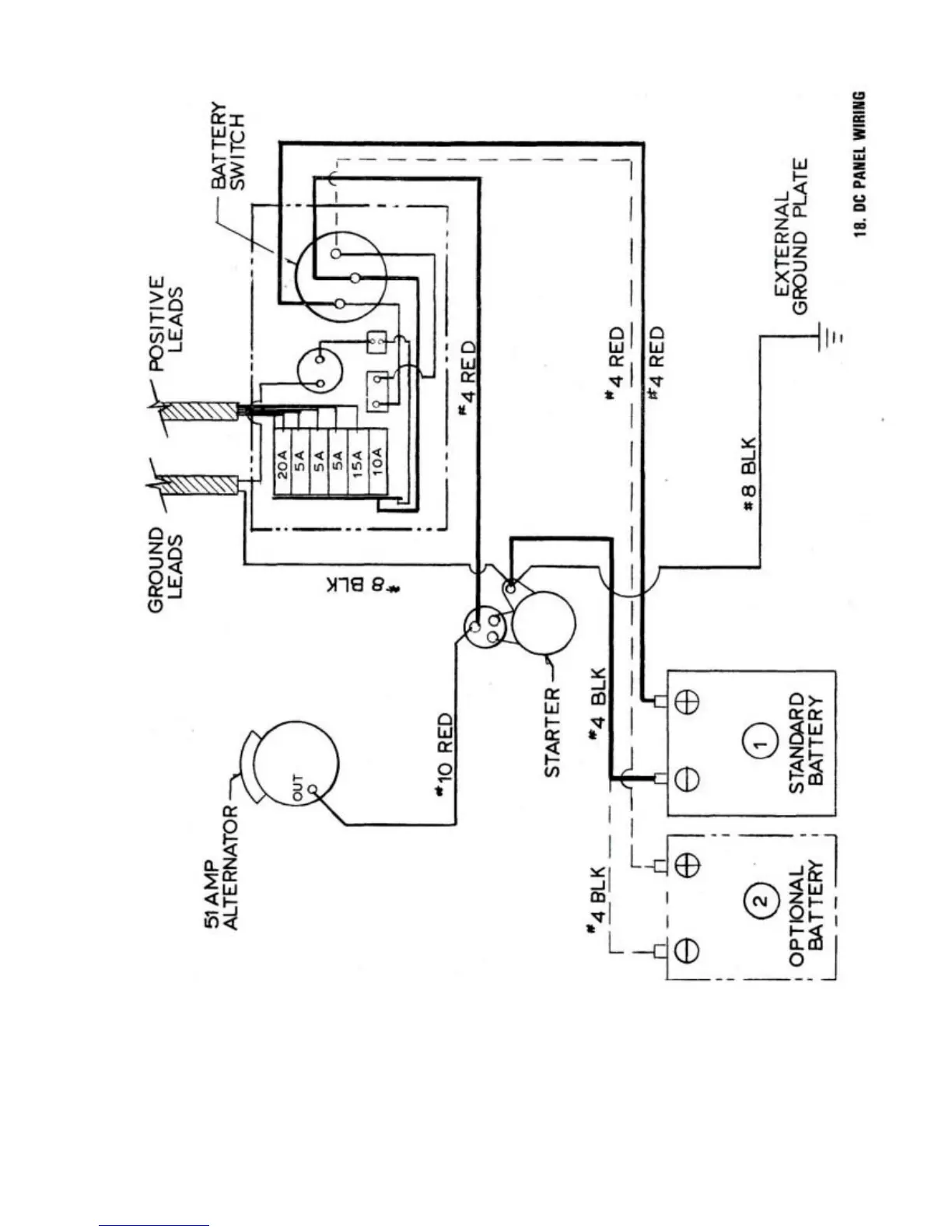
Cape Dory 270 - 600 DC Panel Wiring

Default Icon
94 pages
Print Icon
To Next Page IconTo Next Page
To Next Page IconTo Next Page
To Previous Page IconTo Previous Page
To Previous Page IconTo Previous Page
Loading...
www.capedory.org - 90 -

Table of Contents