EasyManua.ls Logo

Carrier 12 - Page 9

Carrier 12
24 pages
Print Icon
To Next Page IconTo Next Page
To Next Page IconTo Next Page
To Previous Page IconTo Previous Page
To Previous Page IconTo Previous Page
Loading...
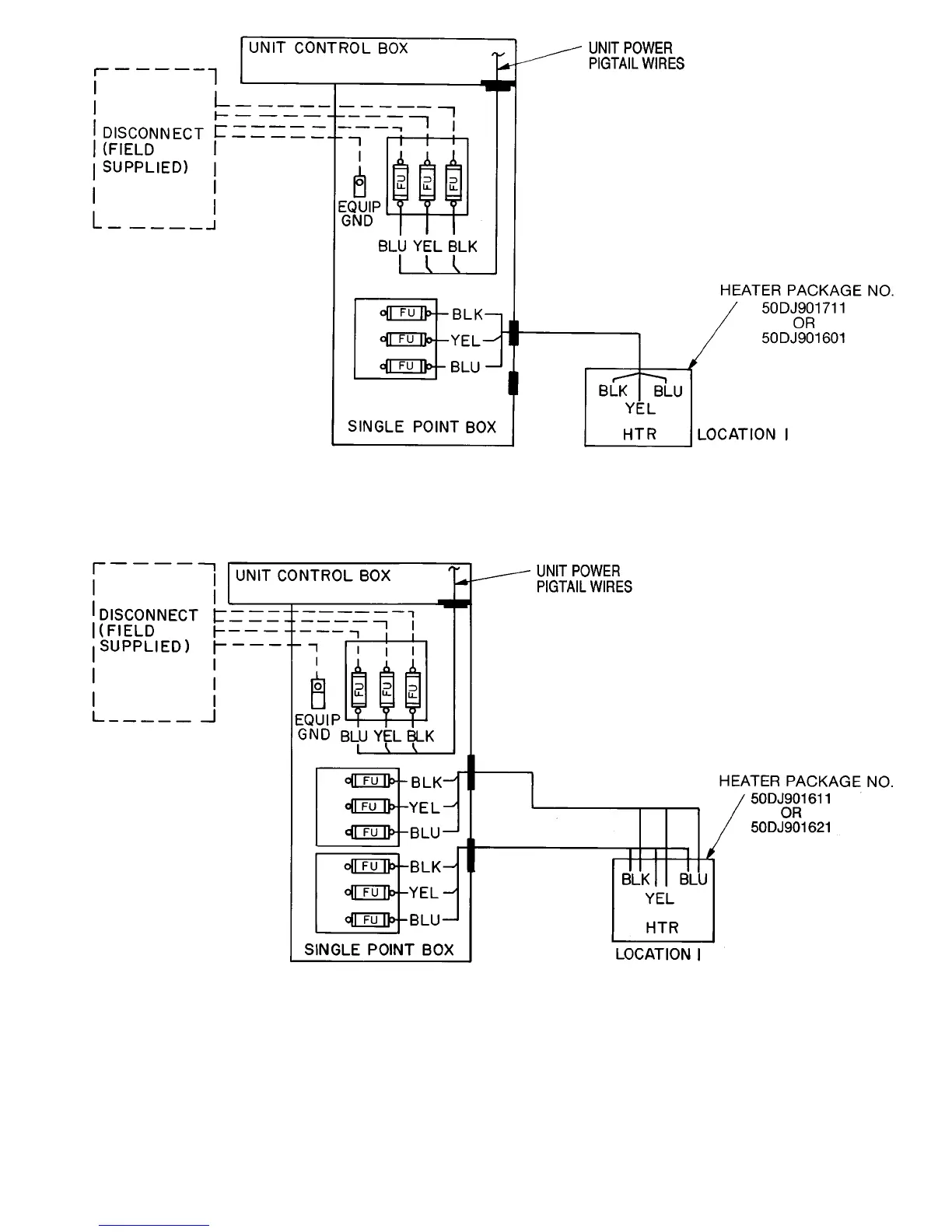
Fig. 10 Electric Heater Power Wiring Connections 50LJQ, 220-3-50;
Single Point Kit 50DJ902031 and 50DJ902081
Fig. 11 Electric Heater Wiring Connections 50LJQ, 220-3-50;
Single Point Kit 50DJ902051 and 50DJ902111
LEGEND FOR FIG. 7-13
EQUIP Equipment
FU Fuse
GND Ground
HTR Heater
TB Terminal Block
9

Related product manuals