EasyManua.ls Logo

Carrier 40VMM007A 3 Series - Installation; Unpack and Inspect Units; Position the Unit

Carrier 40VMM007A 3 Series
26 pages
To Next Page IconTo Next Page
To Next Page IconTo Next Page
To Previous Page IconTo Previous Page
To Previous Page IconTo Previous Page
Loading...
11
INSTALLATION
Step 1 — Unpack and Inspect Units —
Units are
packaged for shipment to avoid damage during normal transit
and handling. It is the receiving party’s responsibility to inspect
the equipment upon arrival. Any obvious damage to the carton
and/or its contents should be reported on the bill of lading and a
claim should be filed with the transportation company and the
factory. The unit should always be stored in a dry place and in
the proper orientation as marked on the carton.
After determining the condition of the carton exterior, carefully
remove each unit from the carton and inspect for damage.
Check to make sure that items such as accessory kit,
thermostats, controller, etc. are accounted for whether
packaged separately or shipped at a later date. Any damage
should be recorded, a claim should be filed with the
transportation company, and the factory should be notified. In
the event a claim for shipping damage is filed, the unit,
shipping carton, and all packing must be retained for physical
inspection by the transportation company. All units should be
stored in the factory shipping carton with internal packaging in
place until installation.
PROTECTING UNITS FROM DAMAGE Do not apply
force or pressure to the coil, piping, or drain stub-outs during
handling. All units should be handled by the chassis or as close
as possible to the unit mounting point locations.
The unit must always be properly supported. Temporary
supports used during installation or service must be adequate to
hold the unit securely. To maintain warranty, protect units
against hostile environments (such as rain, snow, or extreme
temperature), theft, vandalism, and debris on the jobsite.
Equipment covered in this manual is not suitable for outdoor
installations. Do not allow foreign material to fall into drain
pan. Prevent dust and debris from being deposited on motor,
fan wheels, and coils. Failure to do so may have serious
adverse effects on unit operation, and in the case of motor and
blower assembly, may result in immediate or premature failure.
Failure of any unit caused by deposits of foreign material on
the motor or blower wheels will not be covered by the
manufacturer’s warranty. Some units and/or job conditions
may require some form of temporary covering during
construction.
PREPARING JOBSITE FOR UNIT INSTALLATION To
save time and to reduce the possibility of costly errors, set up a
complete sample installation in a typical room at the job-site.
Check all critical dimensions such as pipe, wire, and duct
connections requirements. Refer to job drawings and product
dimension drawings as required. Instruct all trades in their
parts of the installation. Units must be installed in compliance
with all applicable local code requirements.
IDENTIFYING AND PREPARING UNITS Be sure power
requirements match available power source. Refer to the unit
nameplate and wiring diagram.
In addition:
Check all tags on the unit to determine if shipping screws
are to be removed. Remove screws as directed.
Rotate the fan wheel by hand to ensure that the fan can
rotate freely. Check for shipping damage and fan
obstructions. Adjust blower motor as required.
Step 2 — Position the Unit
Install the unit in a location that meets the following
requirements:
Allow adequate space for installation, service clearance,
piping, electrical connections, and necessary ductwork.
For specific unit dimensions, refer to Table 2, Fig. 2, and
Fig. 3. Allow clearance according to local and national
codes.
Confirm that the ceiling is able to support the weight of
the unit. See Table 2 for nominal weight.
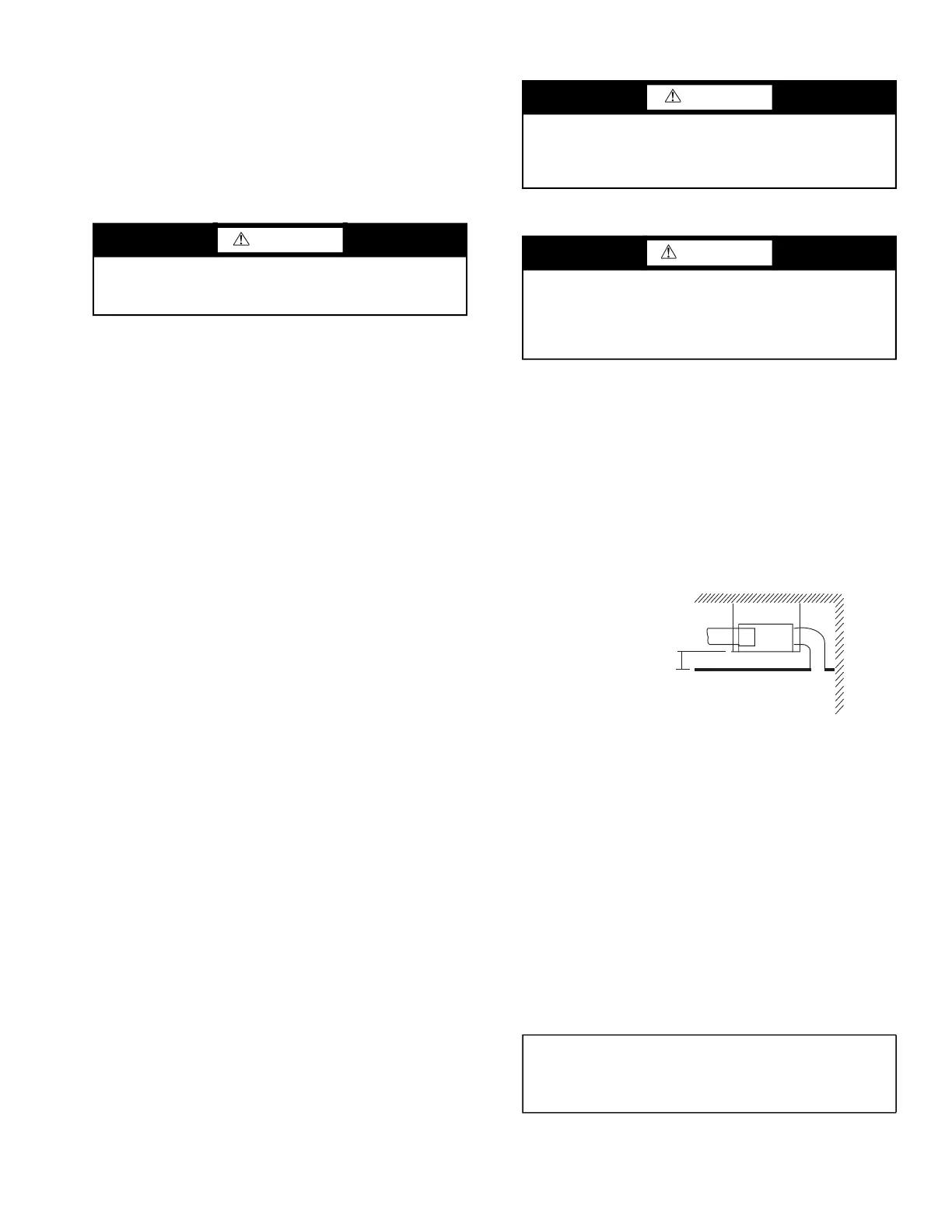
There should be enough room within the false ceiling for
installation and maintenance. See Fig. 13.
The false ceiling should be horizontal and level.
Install the unit in a location within the room that allows
uniform air flow in all directions.
Fig. 13 —False Ceiling Installation
Select the unit position with the following points in mind:
The unit should be installed in a position that is suitable
to support the total weight of the unit, refrigerant piping,
and condensate.
Proper access should be provided for refrigerant piping,
EEV (electronic expansion valve), electrical box, and
condensate pump maintenance. A two foot clearance is
recommended all around the unit.
The unit should not be positioned directly above any
obstruction.
The unit must be installed square and level.
The condensate drain should have sufficient downward
slope (1 inch per 100 inches) in any horizontal run
between the unit and drain. Maximum condensate lift is
27-
1
/
2
inches.
CAUTION
To avoid equipment damage, do not lift unit by the drain
pipe or refrigerant piping. Unit should be lifted using the
mounting brackets.
DANGER
Units must not be installed where they may be exposed to
potentially explosive or flammable atmosphere. If this
instruction is not followed, a fire or explosion may result,
causing property damage, injury, or loss of life.
WARNING
The ducting for the 7K (40VMM007A--3) and 9K
(40VMM009A--3) models (supply and return air ducts)
is intended for use in one room only. Do not install
ductwork from a single unit to multiple rooms for these
two models.
IMPORTANT: Be sure that the ceiling grid is supported
separately from the unit. The ceiling grid must not be sup-
ported by any part of the unit or any associated wiring or
piping work.
MINIMUM DRAIN
TILT 1/100
a40-1849

Related product manuals