EasyManua.ls Logo

Carrier 42QHG012D8SH - Partes de la Unidad; Resumen de Instalación - Unidad Interior

Carrier 42QHG012D8SH
92 pages
To Next Page IconTo Next Page
To Next Page IconTo Next Page
To Previous Page IconTo Previous Page
To Previous Page IconTo Previous Page
Loading...
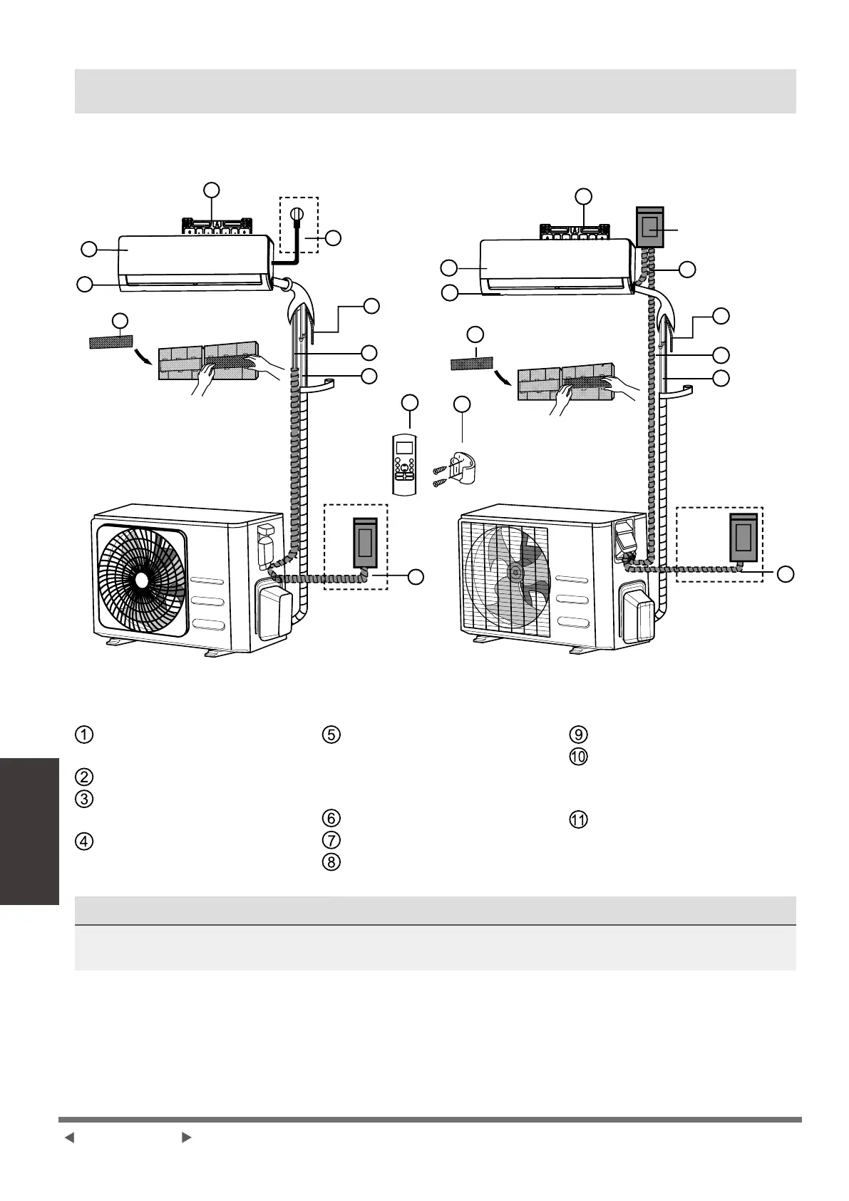
Partes de la Unidad
Partes de la Unidad
AVISO: La instalación debe realizarse de acuerdo a los requerimientos de los estándares
locales y nacionales. La instalación podría diferir ligeramente en diferentes zonas.
(1) (2)
1
2
3
4
6
7
8
9
10
11
3
1
2
4
5
6
7
8
11
5
Interruptor de aire
Placa de Montaje en
Pared
Panel Frontal
Cable de Alimentación
(Algunas Unidades)
Láminas
Filtro Funcional (En
la Parte Posterior del
Filtro Principal - Algunas
Unidades)
Tubería de Drenaje
Cable de Señal
Tubería de Refrigerante
Mando a Distancia
Soporte de Mando a
Distancia (Algunas
Unidades)
Cable de Alimentación de
Unidad Exterior (Algunas
Unidades)
AVISO SOBRE LAS ILUSTRACIONES
Las ilustraciones de este manual tienen nes explicativos. La forma de su unidad interior
podría ser ligeramente diferente. Prevalecerá la forma actual.
Página 04-ES

Table of Contents

Other manuals for Carrier 42QHG012D8SH

Related product manuals