EasyManua.ls Logo

Carrier 42QHG012D8SH - Composants de Lunité

Carrier 42QHG012D8SH
92 pages
To Next Page IconTo Next Page
To Next Page IconTo Next Page
To Previous Page IconTo Previous Page
To Previous Page IconTo Previous Page
Loading...
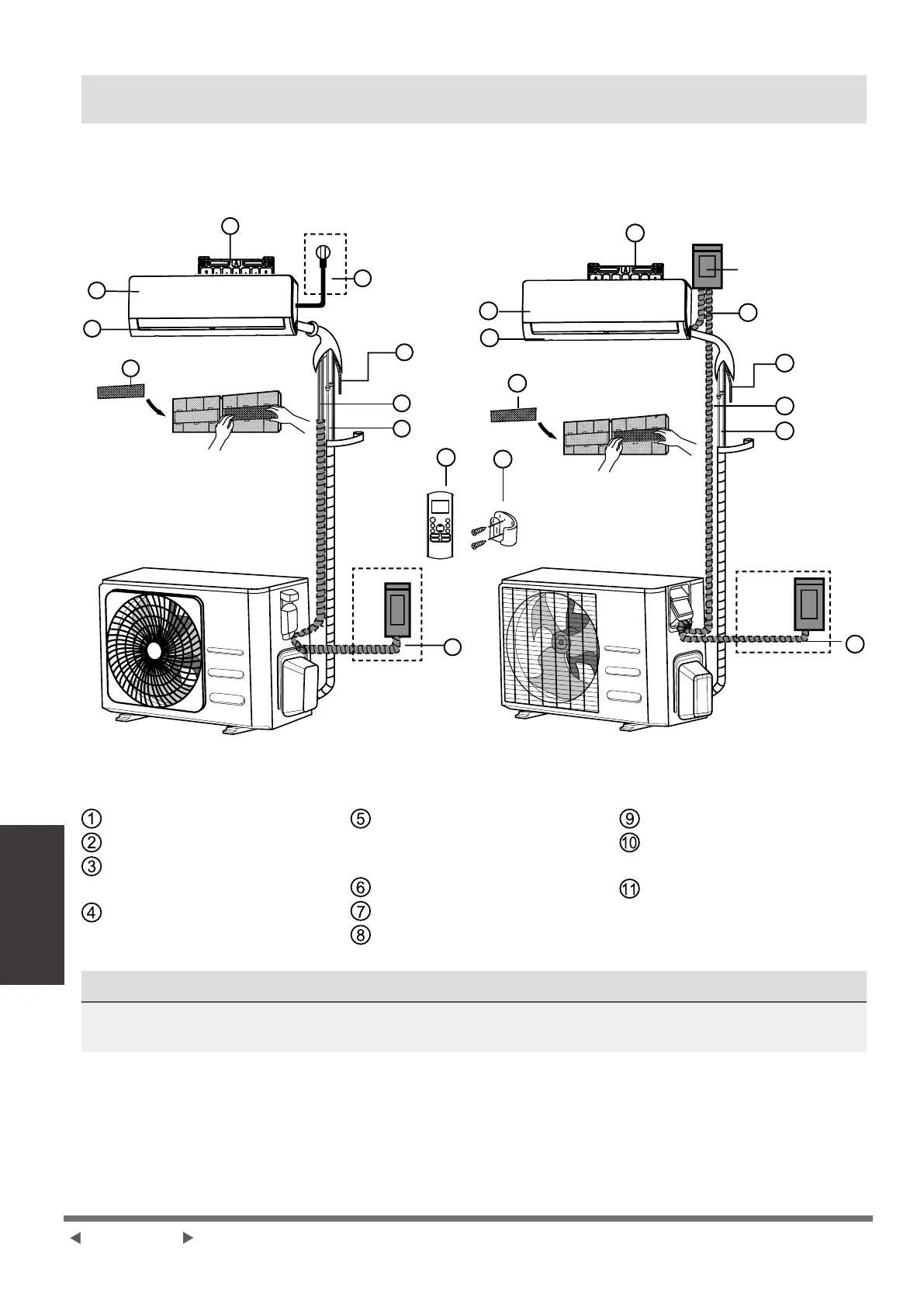
Composants de l’unité
Composants de l’unité
NOTE: L’installation doit être uniquement effectuée conformément aux standards locaux et
nationaux. L’installation peut être légèrement différente dans différentes régions.
(1) (2)
1
2
3
4
6
7
8
9
10
11
3
1
2
4
5
6
7
8
11
5
Interrupteur d’air
Plaque de montage de mur
Panneau avant
Câble d'alimentation
(certaines unités)
Volet
Filtre fonctionnel (sur
l’arrière du ltre principal -
certaines unités)
Tuyau de drainage
Câble de signal
Tuyauterie de réfrigérant
Télécommande
Support de télécommande
(certaines unités)
Câble d’alimentation
d’unité extérieure
(certaines unités)
NOTE SUR LES ILLUSTRATIONS
Les illustrations de ce manuel sont à titre explicatif. La forme réelle de votre unité intérieure
peut être légèrement différente. La forme réelle doit prévaloir.
Page 04-FR

Table of Contents

Other manuals for Carrier 42QHG012D8SH

Related product manuals