EasyManua.ls Logo

Casio ClassPad 300 PLUS - Page 253

Casio ClassPad 300 PLUS
753 pages
Print Icon
To Next Page IconTo Next Page
To Next Page IconTo Next Page
To Previous Page IconTo Previous Page
To Previous Page IconTo Previous Page
Loading...
20050501
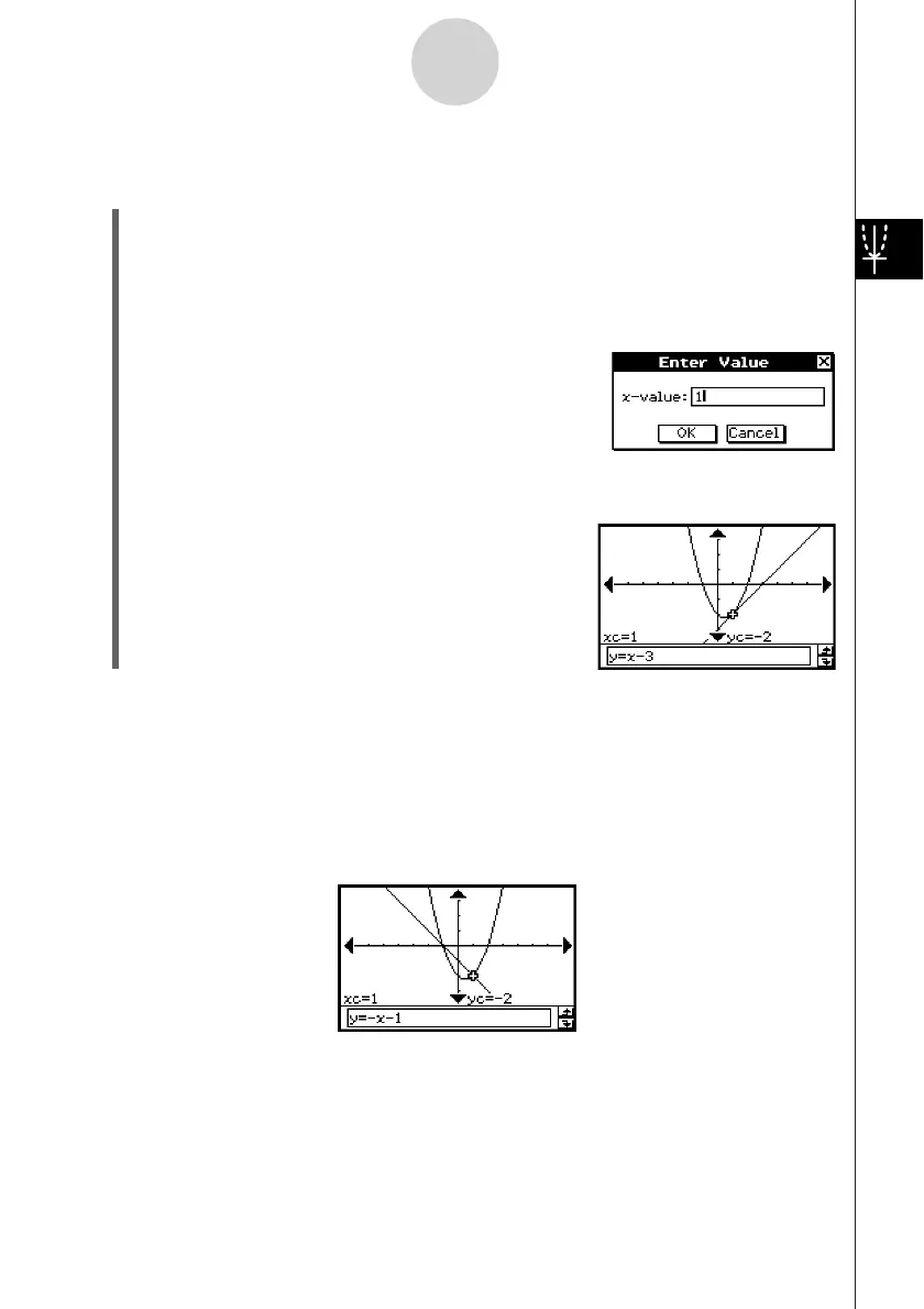
u To draw a line tangent to a graph
Example: To draw a line tangent to the graph y = x
2
x – 2 when x = 1
(1) In line y1 of the Graph Editor window, input and save y = x
2
x – 2.
(2) Tap $ to graph the function.
(3) Tap [Analysis], [Sketch], and then [Tangent].
This displays the crosshair pointer along with its corresponding coordinate values.
(4) Press 1.
This displays a dialog box for inputting the point
of tangency x-value, with 1 specified as the point.
3-6-3
Using the Sketch Menu
(5) Tap [OK].
This closes the dialog box and moves pointer to the location you specified in step (4).
(6) Press E.
Tip
Instead of inputting coordinate values in steps (4) and (5), you can use the cursor key or the
graph controller arrows to move the pointer to the point of tangency on the Graph window.
u To draw a line that is normal to a graph
The procedure for drawing a line that is normal to a graph is virtually identical to the
procedure “To draw a line tangent to a graph”, above. The only difference is in step (3),
where you need to tap [Analysis], [Sketch], and then [Normal] instead of [Tangent].

Table of Contents

Related product manuals