EasyManua.ls Logo

Casio ClassPad 300 PLUS - Page 264

Casio ClassPad 300 PLUS
753 pages
Print Icon
To Next Page IconTo Next Page
To Next Page IconTo Next Page
To Previous Page IconTo Previous Page
To Previous Page IconTo Previous Page
Loading...
20050501
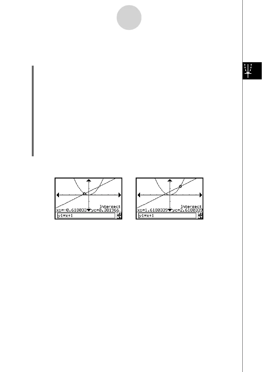
u To obtain the point of intersection for two graphs
Example: To graph the functions y = x + 1 and y = x
2
, and determine their point of
intersection
(1) Display the View Window dialog box, and then configure it with the following
parameters.
xmin = –5, xmax = 5, xscale = 1
ymin = –5, ymax = 5, yscale = 2
(2) On the Graph Editor window, input and store y = x + 1 into line y1 and y = x
2
into y2,
and then tap $ to graph them.
•Make sure that only y1 and y2 are checked.
(3) Tap [Analysis], [G-Solve], and then [Intersect].
This causes “Intersect” to appear on the Graph window, with a pointer located at the
point of intersection. The x- and y-coordinates at the current pointer location are also
shown on the Graph window.
(4) To obtain other points of intersection, press the left or right cursor key, or tap the left or
right graph controller arrows.
Result Screenshots
3-8-4
Analyzing a Function Used to Draw a Graph

Table of Contents

Related product manuals